Texas Instruments AWRL1432 mmWave-Radarsensor

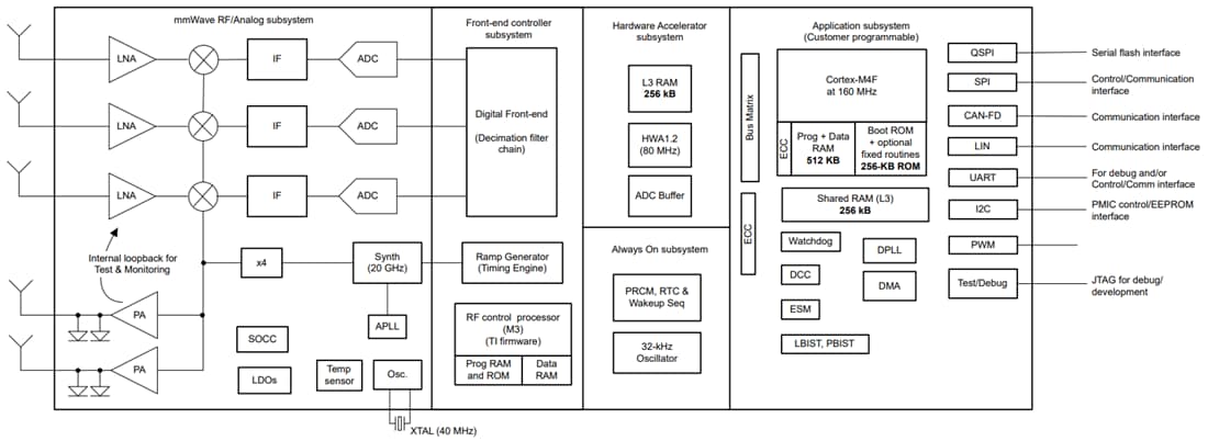
Der AWRL1432 mmWave Radarsensor von Texas Instruments ist ein integrierter mmWave-Einzelchip-Sensor, der auf der FMCW-Radartechnologie basiert. Das Bauteil kann im 76-GHz- bis 81-GHz-Band betrieben werden und ist in vier Leistungsbereiche unterteilt: HF-/Analog-Subsystem, Frontend-Controller-Subsystem (FECSS), Applikations-Subsystem (APPSS) und Hardware-Beschleuniger (HWA). Der AWRL1432 verfügt über separate Steuerungen für jeden Leistungsbereich zur Steuerung des Gerätezustands (Ein- oder Ausschalten) basierend auf den Anwendungsfallanforderungen. Er kann verschiedene Stromsparmodi wie Tiefschlaf und Ruhezustand einnehmen, wobei der Stromsparmodus durch Takt-Gating und Abschalten der internen IP-Blöcke des Bauelements erreicht wird. In solchen Szenarien behält das Bauteil einige seiner Inhalte wie z. B. das Applikationsbild oder das HF-Profil.

Darüber hinaus ist das Bauteil mit dem stromsparenden 45-nm-HF-CMOS-Prozess von TI in einer extrem kleinen Baugröße ausgelegt und ermöglicht ein beispielloses Maß an Integration. AWRL1432 wurde für stromsparende, selbstüberwachende, ultrapräzise Radarsysteme im Automobilbereich für Applikationen wie Kick-to-Open, Einparkhilfe, Totwinkel-Erkennung und Erkennung von Türhindernissen entwickelt.

Merkmale

  • FMCW-Transceiver
    • PLL, Sender, Empfänger, Basisband und ADC integriert
    • 76 GHz bis 81 GHz Abdeckung mit 5 GHz kontinuierlicher Bandbreite
    • Drei Empfangskanäle und zwei Sendekanäle
    • Kurze Reichweite
    • 11 dBm typische Ausgangsleistung pro Tx
    • 14 dB typischer Rauschfaktor
    • -89 dBc/Hz typisches Phasenrauschen bei 1 MHz
    • FMCW-Betrieb
    • 5 MHz ZF-Bandbreite, nur echte Rx-Kanäle
    • Ultra-genaue Chirp-Engine auf Basis einer Fraktional-N-PLL
    • Binärer Phasenschieber pro Sender
  • Verarbeitungselemente
    • Arm®-M4F®-Core mit Einzel-Präzisions-FPU (160 MHz)
    • TI Radar Hardware Accelerator (HWA 1.2) für FFT, Log Magnitude und CFAR-Betriebsabläufe (80 MHz)
  • Unterstützt mehrere Stromsparmodi
    • Leerlaufmodus und Tiefschlafmodus
  • Leistungsmanagement
    • 1,8 V und 3,3 V IO-Unterstützung
    • Eingebautes LDO-Netzwerk für verbesserte PSRR
    • BOM-optimierte und energieoptimierte Modi
    • Eine oder zwei Stromschienen für 1,8 V IO-Modus, zwei oder drei Stromschienen für 3,3 V IO-Modus
  • 6,45 mm x 6,45 mm Gehäusegröße des FCCSP-Bauelelements
  • Integrierte Kalibrierung und Selbsttest
    • Integrierte Firmware (ROM)
    • Eigenständiges On-Chip-Kalibrierungssystem
  • Host-Schnittstelle
    • UART
    • CAN-FD
    • SPI
    • LIN
  • RDIF (Radar Data Interface) für die Erfassung von ADC-Rohdaten
  • Andere für die Benutzeranwendung verfügbare Schnittstellen
    • QSPI
    • I2C
    • JTAG
    • GPIOs
    • PWM-Schnittstelle
  • Interner Speicher
    • 1 MB On-Chip-RAM
    • Konfigurierbarer gemeinsamer L3-Speicher für Radar-Würfel
    • Daten- und Code-RAM von (512/640/768 KB)
  • Für die Einhaltung der funktionalen Sicherheitsanforderungen ausgelegt
    • Entwickelt für funktionale Sicherheitsapplikationen
    • Hardware-Integrität bis zu ASIL B angestrebt
  • FCCSP-Gehäuse mit 12 x 12, 102 BGA-Bälle
  • AECQ-100-qualifiziert
  • Taktquelle
    • 40,0 MHz Quarz für den primären Taktgeber
    • Unterstützt extern angetriebenen Takt (quadratisch/sinusförmig) bei 40,0 MHz
    • 32 kHz interner Oszillator für stromsparenden Betrieb
  • Unterstützt den Betriebstemperaturbereich
    • -40 °C bis 125 °C Sperrschicht-Betriebstemperaturbereich

Applikationen

  • Kick to open (Kofferraum)
  • Automatisiertes Parken
  • Autotüröffner
  • Querverkehr-Assistent (vorne)
  • Totwinkel-Erkennung
  • Spurwechselassistent

Funktionales Blockdiagramm

Blockdiagramm - Texas Instruments AWRL1432 mmWave-Radarsensor
Veröffentlichungsdatum: 2024-08-20 | Aktualisiert: 2025-05-15