Texas Instruments AMC0x06M05/-Q1 Isolierte Delta-Sigma-Modulatoren
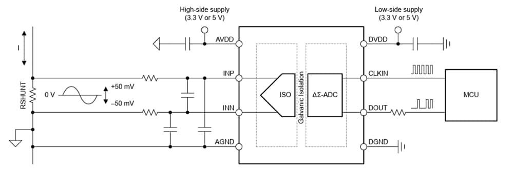
Die galvanisch isolierten Delta-Sigma-Modulatoren AMC0x06M05/-Q1 von Texas Instruments sind präzise Bauteile mit einem Differenz Eingang von ±50 mV und einem digitalen Ausgang. Der Eingang des Modulators ist für den Anschluss an niederohmige Nebenwiderstände optimiert, wie sie häufig in Applikationen eingesetzt werden. Die Isolierung trennt Teile des Systems, die mit unterschiedlichen Gleichtakt-Spannungspegeln arbeiten. Die Isolierung ist äußerst resistent gegenüber magnetischen Störungen. Die Barriere ist zertifiziert für eine verstärkte Isolierung bis zu 5 kVRMS(DWV-Gehäuse) und eine Basisisolierung bis zu 3 kVRMS(D-Gehäuse) (60 s). Der AMC0x06M05/-Q1 Ausgang wird mit einem externen Takt synchronisiert.Die TI AMC0x06M05/-Q1 Isolierte Delta-Sigma Modulatoren kombinieren einen sinc3 und einen OSR 256 Filter und ermöglichen 16 effektive Bits Auflösung oder 84 dB Dynamikbereich bei einer 78kSPS Abtastrate. Der AMC0x06M05-Q1 ist in 8-poligen, breiten und schmalen SOIC-Gehäusen erhältlich. Die Bauteile sind vollständig für den Temperaturbereich von -40 °C bis +125 °C spezifiziert.
Die AMC0x06M05-Q1 Bauteile sind AEC-Q100-qualifiziert für Fahrzeuganwendungen.
Merkmale
- AEC-Q100-qualifiziert für Fahrzeuganwendungen:
- Temperaturklasse 1: -40 °C bis +125 °C, TA
- ±50 mV linearer Eingangsspannungsbereich
- Versorgungsspannungsbereich::
- High-Side (AVDD): 3.0 V bis 5,5 V
- Low-side (DVDD): 2,7 V bis 5.5 ,
- Geringe DC-Fehler:
- Offset-Fehler: ±200 uV (maximal)
- OffsetDrift ±12 µV/°C (maximal)
- Gain-Fehler: ±0,3 % (maximal)
- Gain Drift ±50 ppm/°C (maximal)
- Hoher CMTI-Wert: 150 V/ns (Minimum)
- Fehlende Erkennung der Hochspannungsversorgung
- Niedrige EMI: Erfüllt die CISPR-11- und CISPR-25-Standards
- Isolierungsbewertungen:
- AMC0206M05-Q1: Basisisolierung
- AMC0306M05-Q1: Verstärkte Isolierung
- Sicherheitsbezogene Zertifizierungen:
- DIN EN IEC 60747-17 (VDE 0884-17)
- UL1577
Applikationen
- Motorantriebe
- Photovoltaik-Wechselrichtern
- Server-Netzteile (PSU)
- Energiespeichersysteme
Datenblätter
Typische Applikation
Veröffentlichungsdatum: 2026-02-05
| Aktualisiert: 2026-02-13
