Texas Instruments AM1705 Sitara-ARM-Mikroprozessor (MPU)
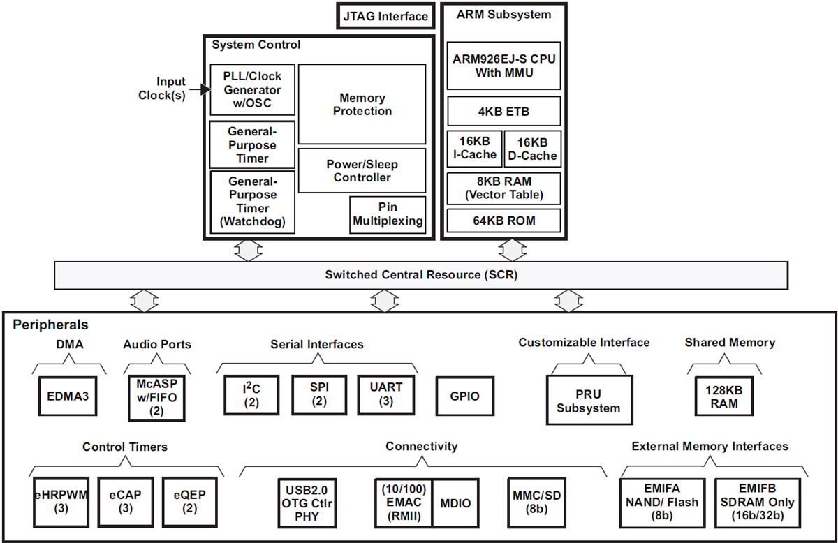
Der AM1705 Sitara ARM-Mikroprozessor (MPU) von Texas Instruments ist ein ARM-Mikroprozessor mit niedrigem Stromverbrauch auf der Basis eines ARM926EJ-S. Das Bauteil ermöglicht Erstausrüstern (Original Equipment Manufacturers - OEMs) und Herstellerfirmen von Originaldesigns (Orginial Design Manufacturers - ODMs) Geräte mit robuster Betriebssystemunterstützung, umfangreichen Benutzeroberflächen und hoher Verarbeitungsleistung schnell auf den Markt zu bringen. Dies wird durch die maximale Flexibilität einer voll integrierten Mischprozessorlösung erreicht. Bei ARM926EJ-S handelt es sich um einen 32-Bit RISC Prozessorkern, der 32- oder 16-Bit-Befehle und 32-, 16- oder 8-Bit Daten verarbeitet. Der Kern nutzt Pipelining, so dass alle Teile des Prozessors und des Speichersystems ununterbrochen arbeiten können. Der ARM-Kern verfügt über einen Coprozessor 15 (CP15), Schutzmodul und Daten- und Programmspeicherverwaltungseinheiten (MMU) mit Tabellen- Look-Aside-Puffern. Die ARM-Kern verfügt über separate 16-KB-Befehls- und 16-KByte-Daten-Caches. Beide Speicherblöcke sind Vier-Wege-assoziativ mit virtuellen Index und virtuellen Tags (VIVT). Der ARM-Core verfügt außerdem über 8 KB RAM (Vektortabelle) und 64 KB ROM.The ARM926EJ-S is a 32-bit RISC processor core that performs 32-bit or 16-bit instructions and processes 32-bit, 16-bit, or 8-bit data. The core uses pipelining so that all parts of the processor and memory system can operate continuously. The ARM core has a coprocessor 15 (CP15), protection module, and data and program memory management units (MMUs) with table look-aside buffers. The ARM core has separate 16KB of instruction and 16KB data caches. Both memory blocks are four-way associative with virtual index virtual tag (VIVT). The ARM core also has 8KB of RAM (Vector Table) and 64KB of ROM.
Merkmale
- 375 und 456 MHz ARM926EJ-S™ RISC-Core 32-Bit- und 16-Bit-Anweisungen (Thumb®)
- ARM9-Speicherarchitektur 16 KB Anweisungscache
- Speicherdirektzugriff-Controller 3 (Enhanced Direct Memory Access, EDMA3)
- 128 KB RAM-Speicher
- 3,3 V LVCMOS I/Os (außer für die USB-Schnittstelle)
- Zwei externe Speicherschnittstellen
- Drei konfigurierbare UART-Module Typ 16550
- Zwei serielle Peripherieschnittstellen (SPIs) mit je einem Chip Select
- Programmierbares Real-Time Unit-Subsystem (PRUSS)
- Multimedia Card (MMC)/Secure Digital (SD) Card Interface mit Secure Data I/O (SDIO)
- Zwei Master- und Slave-Inter-Integrated Circuits (I2C-Bus™)
- USB 2.0 OTG-Anschluss mit integriertem PHY (USB0)
- Zwei serielle Mehrkanal-Audio-Anschlüsse (McASP)
- 10/100 MBit/s Ethernet MAC (EMAC)
- Ein 64-Bit-Universal-Timer (als zwei 32-Bit-Timer konfigurierbar)
- Ein 64-Bit-Universal-Watchdog-Timer (als zwei 32-Bit-Timer konfigurierbar)
- Drei erweiterte Pulsweitenmodulatoren (eHRPWMs)
- Drei erweiterte 32-Bit-Capture-Module
- Zwei erweiterte 32-Bit-Quadrature-Encoder-Pulse-Module (eQEP)
- 176-Pin-PowerPAD™ Quad-Flat-Pack [PTP Suffix] aus Kunststoff, 0,5 mm Pin-Rastermaß
- Kommerzielle, industrielle oder erweiterte Temperatur
Applikationen
- Industrielle Automatisierung
- Heimautomatisierung
- Prüf- und Messstände
- Tragbare Datenterminals
Additional Resources
Funktionales Blockdiagramm
Veröffentlichungsdatum: 2016-02-03
| Aktualisiert: 2025-06-23
