Texas Instruments AFEx8101 16-Bit- und 14-Bit-DACs mit geringem Stromverbrauch
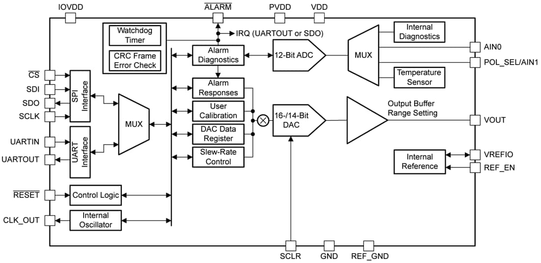
Die Texas Instruments AFEx8101 16-und 14-Bit Digital-Analog-Wandler (DACs) sind hochintegrierte DACs mit hoher Genauigkeit und extrem geringem Stromverbrauch. Sie werden mit Spannungsausgängen geliefert, die für Sensor-Transmitter-Applikationen ausgelegt sind. Die AFEx8101-Bauteile enthalten die meisten Komponenten, die für die Erstellung eines 4 mA bis 20 mA, 2-Draht (schleifengespeisten) Sensor-Transmitters erforderlich sind. Zusätzlich zu dem hochgenauen DAC enthalten diese Geräte eine 10ppm/°C Spannungsreferenz und einen diagnostischen Analog-Digital-Wandler (ADC). Eine externe Spannung-zu-Strom-Umwandlung und Leistungsregelung sind erforderlich, um intrinsische und funktionale Sicherheitsbedenken zu berücksichtigen.Der interne Diagnose-ADC ist mit mehreren internen Knoten gemultiplext, was eine automatische Integritäts-Selbstprüfung ermöglicht. Diese Prüfung kann Fehler oder Fehlfunktionen der internen Vorspannungsquellen, des Leistungsreglers, der Spannungsreferenz, des DAC-Ausgangs, der Chip-Temperatur und einer optionalen externen Spannungsquelle erkennen. Angenommen, vom Diagnose-ADC, der CRC-Frame-Fehlerprüfung oder dem Watchdog-Tmer wird ein Fehler erkannt. In diesem Fall können die Bauteile optional eine Unterbrechung veranlassen und in einen ausfallsicheren Zustand übergehen, der einem standardmäßigen NAMUR-Ausgangswert, einem benutzerdefinierten Wert oder beidem entspricht. Das AFEx8101 von Texas Instruments kann mit einer niedrigen Versorgung von 1,71 V mit einem maximalen Ruhestrom von 210 µA betrieben werden. Die Bauteile sind für einen Temperaturbereich von -40 °C bis +125 °C ausgelegt, sind jedoch von -55 °C bis +125 °C funktionsfähig.
Merkmale
- Fähig für die funktionale Sicherheit
- Niedriger Ruhestrom: 170 µA (typisch)
- 16-Bit oder 14-Bit monotoner Hochleistungs-DAC
- 1,8 V Versorgung (0,15 V bis 1,25 V, 0,2 V bis 1,0 V)
- 5 V Versorgung (0,3 V bis 2,5 V, 0,4 V bis 2,0 V)
- 4LSB INL bei 16-Bit
- 0,07 % FSR (max.) TUE von -40 °C bis +125 °C
- 12-Bit 3,84 kSPS ADC für erweiterte Diagnose
- Integrierte 1,25 V Referenz bei 10 ppm/°C
- Interner 1,2288 mhz Oszillator mit Taktausgang
- Digitale Schnittstellen
- Serielle Peripherieschnittstelle (SPI)
- Asynchroner Universal-Empfänger-Transmitter (UART)
- Fehlererkennung
- CRC-Bit-Fehlerprüfung
- Watchdog-Timer mit Fenster
- Diagnose-ADC
- Großer Betriebstemperaturbereich: -55 °C bis +125 °C
Applikationen
- 2-Draht-Transmitter
- 4 mA bis 20 mA schleifengespeiste Applikationen
- Prozesssteuerung und Industrieautomatisierung
- Smart-Sender
- PLC oder DCS I/O-Module
Funktionales Blockdiagramm
