Texas Instruments AFEx39xx/AFEx39xx-Q1 Smart Analog Front Ends
Die AFEx39xx/AFEx39xx-Q1 Smart analog Front Ends (AFEs) von Texas Instruments sind für die Steuerung thermoelektrischer Kühlung (TEC) mittels Spannungs- oder PWM-Ausgang konzipiert. Der AFE639D2 unterstützt einen I2C Controller zur Schnittstelle mit externen digitalen Temperatursensoren. AFE639D2 und AFE539A4 unterstützen die Spannungsausgabe und AFE439A2 unterstützt die PWM-Ausgabe. Der AFEx39xx/AFEx39xx-Q1 unterstützt einen Komparatorkanal für das Fehlermanagement. Darüber hinaus unterstützen diese Bauteile den Hi-Z-Abschaltmodus und den Hi-Z-Ausgang auf dem DAC-Kanal während dem Ausschalten. Diese Bauteile haben eine eingebaute Zustandsmaschine, die als proportional-integraler Controller (PI) vorprogrammiert ist. Der AFEx39xx/AFEx39xx-Q1 ist eine ausgezeichnete Wahl für TEC-Steuerungs-, Temperatursteuerungs- und dynamische Reservesteuerungs-Applikationen. Der AFEx39xx/AFEx39xx-Q1 von Texas Instruments enthält erweiterte Funktionen, eine interne Referenz und ein NVM, wodurch dieses Smart-AFE für prozessorlose Applikationen und die Design-Wiederverwendung ermöglicht wird.Merkmale
- Integrierte proportional-integrale Steuerung (PI)
- Eigenständiger Betrieb aus dem nichtflüchtigen Speicher (NVM)
- Programmierbare proportionale und integrale Verstärkung
- Komparatoreingang für Ausgangsklemmung
- Programmierbare Min-, Max- und Gleichtaktwerte für den Ausgang
- Programmierbare Schleifenphasenumkehr
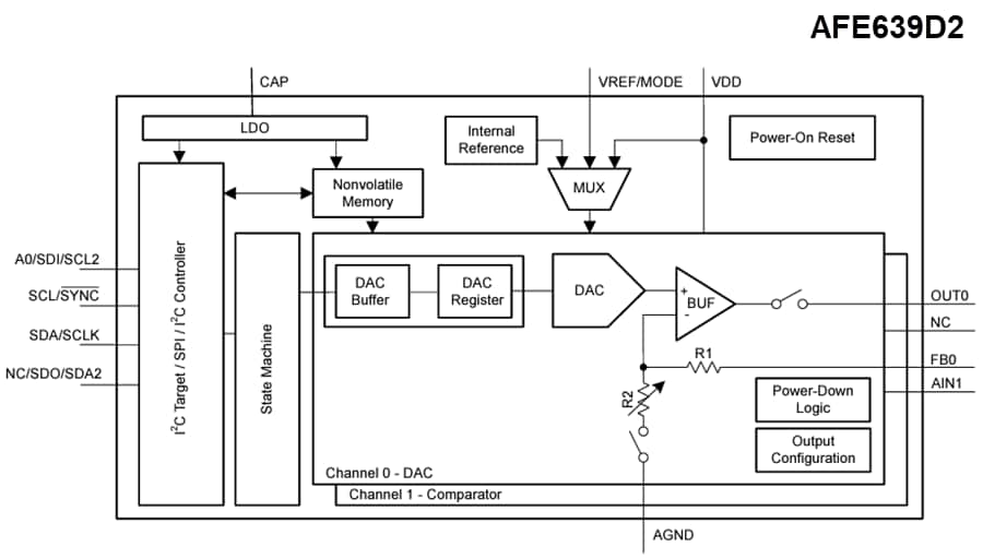
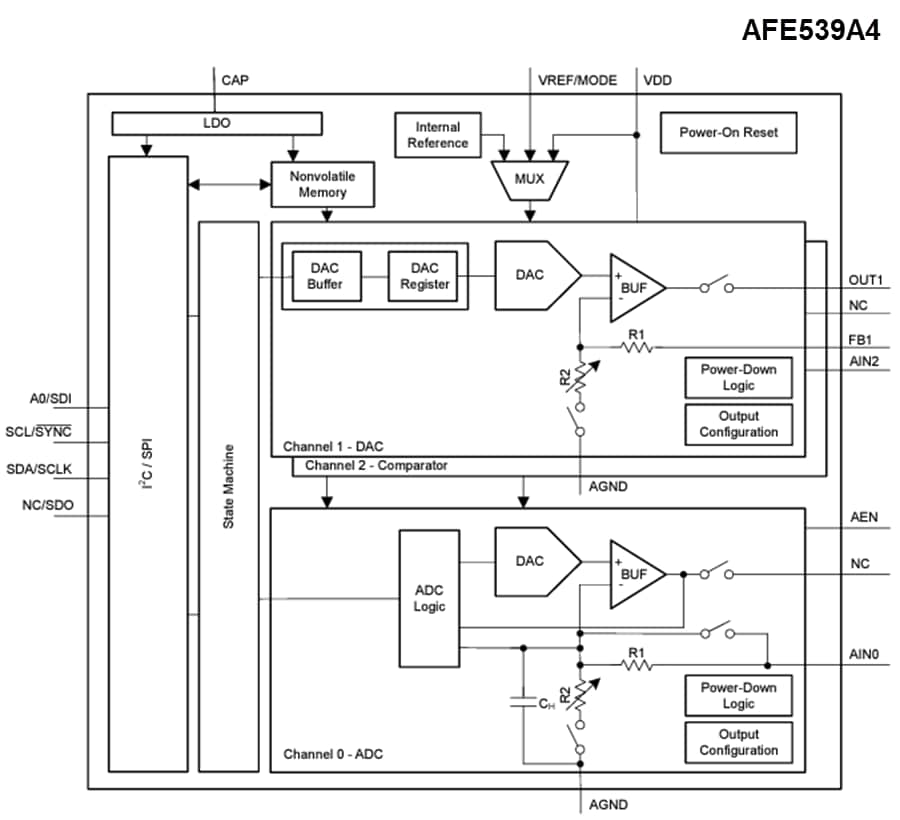
- AFE639D2
- I2C Controller für externe digitale Temperatursensorschnittstelle
- 12-Bit-DAC-Ausgabe: 4 LSB DNL, 1 LSB DNL
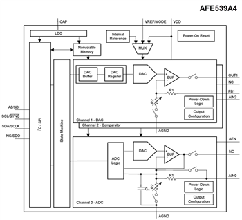
- AFE539A4
- 10-Bit-ADC-Eingang: 2 LSB INL, 1 LSB DNL
- 10-Bit-DAC-Ausgabe: 1 LSB INL und DNL
- AFE439A2
- 8-Bit-ADC-Eingang: 1 LSB INL und DNL
- 7-Bit-Tastverhältnis PWM-Ausgang
- Programmierbarer Komparator für das Fehlermanagement
- Hochohmiger Ausgang auf dem DAC-Kanal, wenn VDD ausgeschaltet ist
- Erkennt automatisch I2C oder SPI
- 1,62 V VIH mit VDD = 5,5 V
- VREF/MODE-Pin zur Auswahl zwischen Programmier- und Standalone-Modus
- Benutzerprogrammierbarer NVM
- Interne, externe Stromversorgung oder als Referenz
- Großer Betriebsbereich
- 1,8 V bis 5,5 V Stromversorgung
- Temperaturbereich von –40˚C bis +125˚C
- Winziges 16-Pin-WQFN-Gehäuse (3 mm × 3 mm)
Applikationen
- Laser
- Chemie-/Gas-Analysator
- Mechanisches Scannen von LIDAR
- Roboter-Sensormodul
- Mobiles Roboter-Sensormodul
- Sucher-Front-End
Datenblätter
Veröffentlichungsdatum: 2023-10-16
| Aktualisiert: 2024-01-12
