Texas Instruments AFEx3902-Q1 Smart Analog Front Ends (AFEs)
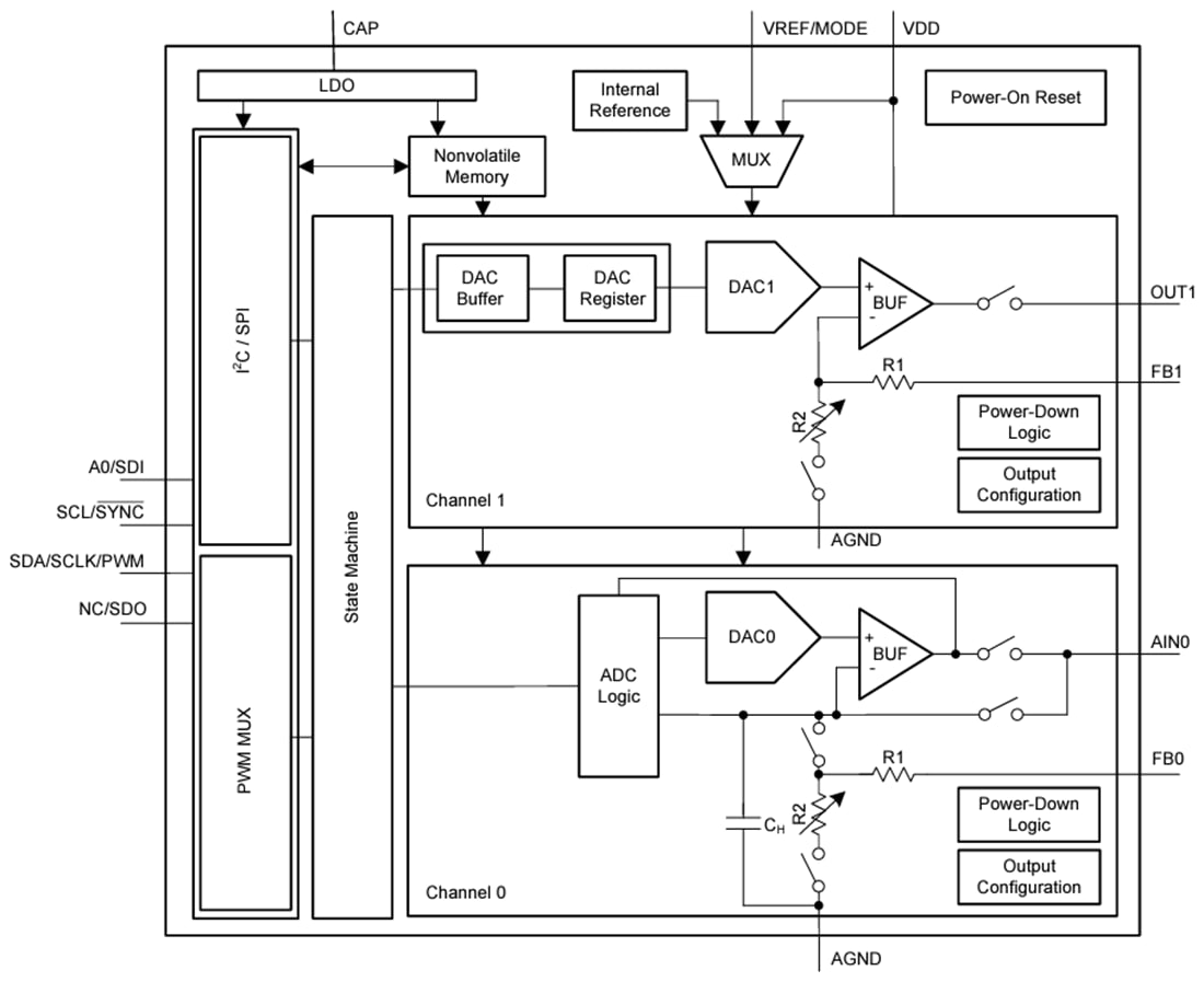
Die Smart Analog Front Ends (AFEs) AFEx3902-Q1 von Texas Instruments sind zweikanalige, intelligente analoge Frontends (AFE), die für den thermischen Multislope-Foldback von LED-Beleuchtungen ausgelegt sind. Die Ausgangsleistung von LED-Leuchten reduziert sich mit der Erhöhung der Temperatur. Der thermische Multislope-Foldback unterstützt die Aufrechterhaltung einer konstanten Lichtausgabe von LEDs, unabhängig von Temperaturänderungen, während die LED-Temperatur auf die programmierten Schwellwerte begrenzt wird.Der AFEx3902-Q1 hat einen ADC für den Temperatureingang und einen DAC- oder PWM-Generator als Ausgang. Diese Bauteile haben eine eingebaute Zustandsmaschine, die als thermischer Multislope-Foldback-Controller vorprogrammiert ist. Der AFEx3902-Q1 ist eine ausgezeichnete Wahl für den thermischen Foldback von Automotive-Rückleuchten, Scheinwerfern und Gartenbauleuchten. Der AFEx3902-Q1 von Texas Instruments arbeitet unabhängig von den im NVM programmierten Parametern und ermöglicht so diese smarten AFEs für prozessorlose Anwendungen und die Wiederverwendung von Designs. Diese Bauteile erkennen auch automatischI2Coder SPI und haben eine interne Referenz.
Merkmale
- AEC-Q100 qualifiziert für Automobilanwendungen
- Temperaturklasse 1 (-40 °C bis +125 °C, TA)
- Mehrstufige Wärmeableitung
- 10-Bit-Analog-Digital-Wandler (ADC)-Eingang
- Digital-Analog-Wandler-Ausgang (DAC)
- 10-Bit (AFE53902-Q1)
- 8-Bit (AFE43902-Q1)
- Pulsbreitenmodulation (PWM)-Ausgang mit einem 7-Bit-Tastverhältnis
- Eigenständiger Betrieb aus dem nichtflüchtigen Speicher (NVM)
- Look-up-Table (LUT)-basierte Parameterkonfiguration
- Stückweiser Linearisator für Thermistor
- Automatische Erkennung vonI2Coder SPI
- 1,62 V VIH mitVDD = 5,5 V
- VREF/MODE-Pin zur Auswahl zwischen Programmier- und Standalone-Modus
- Benutzerprogrammierbarer NVM
- Interne, externe oderVDD-Referenz
- Umfangreicher Betriebsbereich
- 1,8 V bis 5,5 V Stromversorgung
- Winziges 16-Pin-WQFN-Gehäuse (3 mm × 3 mm)
Applikationen
- Kfz-Rücklicht
- Kfz-Scheinwerfer
Funktionales Blockdiagramm
Veröffentlichungsdatum: 2023-10-16
| Aktualisiert: 2025-03-11
