Texas Instruments ADS8578S Hochgeschwindigkeits-8-Kanal-ADC

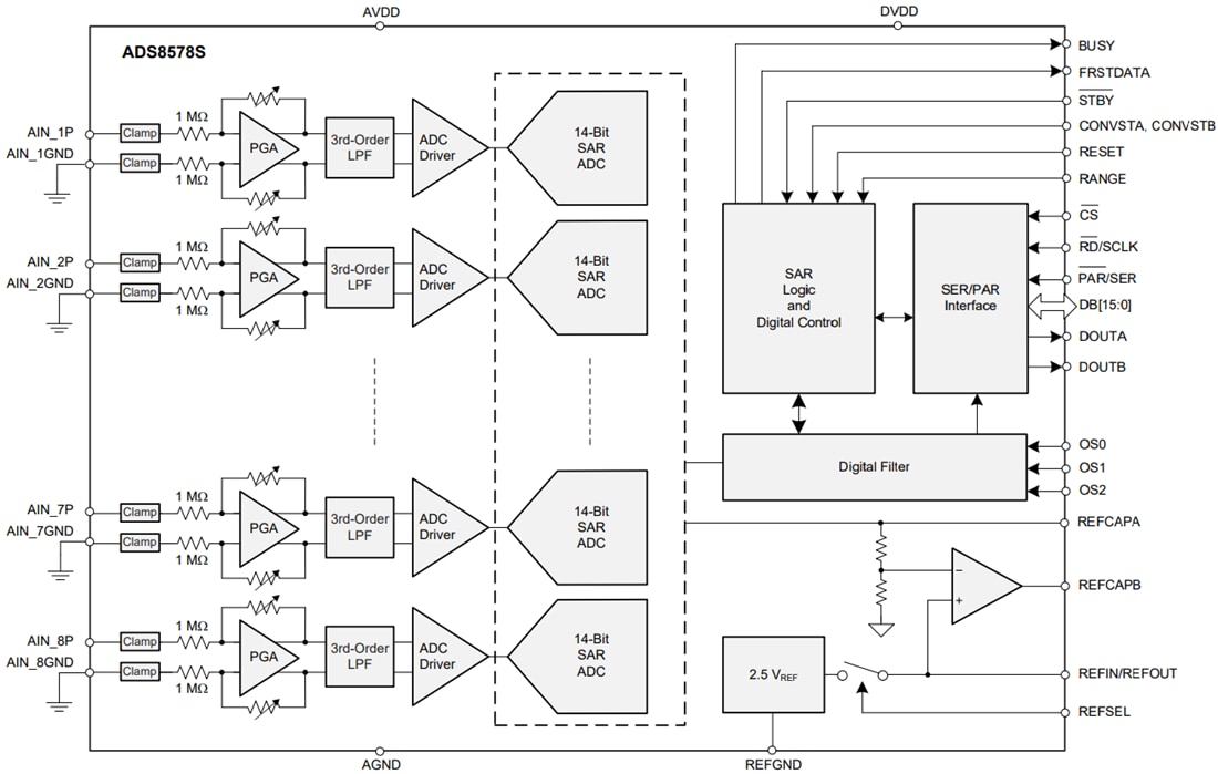
Der Hochgeschwindigkeits-8-Kanal-ADC ADS8578S von Texas Instruments verfügt über ein integriertes Datenerfassungssystem, basierend auf einem 14-Bit-Analog-Digital-Wandler (ADC) mit sukzessiver Approximation (SAR). Alle Eingangskanäle werden simultan abgetastet, um einen maximalen Durchsatz von 200 kSPS pro Kanal zu erreichen. Das Bauelement verfügt über einen kompletten Analog-Frontend für jeden Kanal. Das Front-End enthält einen programmierbaren Verstärker (PGA) mit einer hohen Eingangsimpedanz von 1 MΩ, eine Eingangsklemme, einen Tiefpassfilter und einen ADC-Eingangstreiber. Der ADS8578S verfügt außerdem über eine geringe Abweichung, Präzisionsreferenz mit einem Puffer zum Antrieb des ADC. Eine flexible digitale Schnittstelle, die eine serielle und parallele Byte-Kommunikation unterstützt, ermöglicht es, das Bauteil mit einer Vielzahl von Host-Controllern zu verwenden. Die hohe Leistungsfähigkeit und Genauigkeit sowie die Null-Latenz-Konvertierungen des ADS8578S machen ihn auch zu einer hervorragenden Wahl für viele Industrieautomatisierungs- und Steuerungsapplikationen.

Merkmale

  • 14-Bit ADC with integrated analog front-end
  • Simultaneous sampling of 8 channels
  • Pin-programmable bipolar inputs of ±10V and ±5V
  • High input impedance of 1MΩ
  • 5V Analog supply of 2.3V to 5V digital supply
  • Overvoltage input clamp with 7kV ESD
  • Low-drift, on-chip reference (2.5V), and buffer
  • Excellent performance
    • 200kSPS Max throughput per channels
    • DNL: ±0.2LSB; INL: ±0.2LSB
    • SNR: 85.8dB; THD: −109dB
  • Overtemperature prformance
    • Max offset drift of 3ppm/°C
    • Gain drift of 6ppm/°C
  • On-chip digital filter for oversampling
  • Flexible parallel, byte, and serial interface
  • Temperature Range of –40°C to +125°C
  • 64-Pin LQFP Package

Applikationen

  • Monitoring and control for power grids
  • Protection relays
  • Multiphase motor controls
  • Industrial automation and controls
  • Multichannel data acquisition systems

Videos

Functional Block Diagram

Blockdiagramm - Texas Instruments ADS8578S Hochgeschwindigkeits-8-Kanal-ADC
Veröffentlichungsdatum: 2017-09-08 | Aktualisiert: 2022-06-01