Texas Instruments ADS7142 Programmierbarer Sensor-Wächter
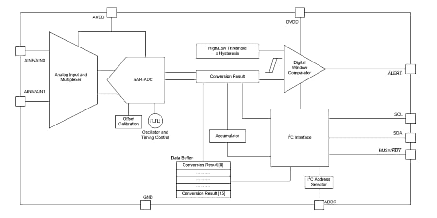
Texas Instruments ADS7142 Programmierbare Nanopower-Zweikanal-Sensorwächter optimieren die Systemleistung, Zuverlässigkeit und Leistungsfähigkeit. Der ADS7142 ist ein eigenständiger Nanopower-Sensorwächter mit einem kleinen Formfaktor, der sich hervorragend für kostengünstige Designs eignet. Das Bauteil überwacht eigenständig Signale bei 900 nW und bietet einen Host-Ruhe- und Aktivierungsmodus mit hohem Wirkungsgrad. Ereignis-auslösende Interrupts pro Kanal werden dem ADS7142 mithilfe eines digitalen Komparators mit Fenster und programmierbaren hohen und niedrigen Schwellwerten, Hysteresen und Ereigniszähler hinzugefügt. Der Sensorwächter besteht aus einem analogen Zweikanal-Multiplexer vor einem Analog-Digital-Wandler mit sukzessivem Approximationsregister (SAR-ADC). Darauf folgt ein interner Datenpuffer mit einem One-Shot-Modus für die Umwandlung und Erfassung von Daten vom Sensor. Eine tiefe Datenanalyse mit 16-Bit-Genauigkeit im Hochpräzisions-Modus, Pufferung für die Fehlerdiagnose und ein One-Shot-Modus für die schnelle Datenerfassung. Der ADS7142 bietet einen großen Betriebsbereich von 1,65 V bis 3,6 V und ist in einem 10-Pin-QFN-Gehäuse erhältlich. Aufgrund des kleinen Formfaktors und dem geringen Stromverbrauch eignet sich dieses Bauteil hervorragend für platzbeschränkte und/oder batteriebetriebene Applikationen.Data analysis runs deep with 16-bit accuracy in high-precision mode, buffering for fault diagnostics, and one-shot mode for fast data capture. The ADS7142/ADS7142-Q1 provides a wide operating range of 1.65V to 3.6V and is available in a 10-pin QFN package. This device is excellent for space-constrained and/or battery-powered applications due to its small form factor and low power consumption. The Texas Instruments ADS7142-Q1 devices are AEC-Q100 qualified for automotive applications.
Merkmale
- Effizienter Host-Ruhe- und Aktivierungsmodus
- Autonome Überwachung bei 900 nW
- Komparator mit Fenster für ereignisausgelöste Host-Aktivierung
- Datenpufferung während des Ruhemodus des Hosts
- Unabhängige Sensoreinstellung und Kalibrierung
- Zweikanal-, Pseudo-differentielle oder Massenerfassungs-Eingangskonfiguration
- Programmierbare Schwellwerte für die Kalibrierung
- Interne Kalibrierung verbessert Offset und Drift
- Prävention von Falschauslösung
- Programmierbare Schwellwerte pro Kanal
- Programmierbare Hysterese für Störfestigkeit
- Ereigniszähler für transiente Unterdrückung
- Eigenständiger Nanopower-Sensorwächter für kostengünstige Konstruktionen
- Kleine Gehäusegröße: 1,5 mm x 2 mm
- Tiefendatenanalyse
- Datenpuffer für Fehlerdiagnose
- Präzisions-Modus für 16-Bit-Genauigkeit
- One-Shot-Modus für schnelle Datenerfassung
- I2C™-Schnittstelle
- Kompatibel von 1,65 V bis 3,6 V
- 8 konfigurierbare Adressen
- Bis zu 3,4 MHz (hohe Geschwindigkeit)
- Breiter Betriebsbereich
- Analoge Versorgung: 1,65 V bis 3,6 V
- Temperaturbereich: -40 °C bis +125 °C
Applikationen
- Sensorknoten für das Internet der Dinge (IoT)
- Gas-, Wärme-, PIR-Bewegungs- und Rauchdetektoren
- Vorbeugende Wartung für Aufzüge, Rolltreppen, HLK, Industrieanlagen usw.
- Wearable Elektronik
- Nulldurchgangserkennung für Fehlerindikatoren
- Kontrollfunktionen
- Komparator mit programmierbarer Referenz
- Sensoren für Deep-Learning-Künstliche-Intelligenz
Datasheet
ADS7142 Funktionales Diagramm
Veröffentlichungsdatum: 2018-02-08
| Aktualisiert: 2022-10-27
