Texas Instruments ADS125H0x Delta-Sigma-ADCs mit ±20 V
Die ADS125H0x Delta-Sigma-ADCs mit ±20 V von Texas Instruments verfügen über einen rauscharmen programmierbaren Gain-Verstärker (PGA), eine interne Referenz, einen Taktoszillator und Signal- oder Referenz-„Außerhalb-des-Bereichs“-Überwachungen. Gegenüber diskreten Lösungen reduziert der ADS125H0x durch die Integration eines 18-V-PGAs mit großem Eingabebereich und einem ADCs in einem einzigen Gehäuse die Board-Fläche um bis zu 50 %. Darüber hinaus enthält das Bauteil eine Spannungsreferenz und Funktionen zur Verbesserung der Datenzuverlässigkeit, wie z. B. eine zyklische Redundanzprüfung (CRC) und Signalüberwachungen.Ein externer Dämpfer oder externe Gain-Stufen sind nicht erforderlich, da sie durch eine programmierbare Gain von 0,125 bis 128 (entspricht einem gleichwertigen Eingabebereich von ±20 V bis ±20 mV) ersetzt werden. Die ADS125H0x ADCs sind rauscharm und bieten eine geringe Drift-Leistung. So können die Direktverbindungen zur Überbrückung des Widerstandstemperaturdetektors (RTD) und der Thermoelement-Sensoren verwendet werden.
Der Messfehler wird reduziert, wenn der digitale Filter das Leitungszyklusrauschen von 50 Hz und 60 Hz für Datenraten von ≤50 SPS oder 60 SPS dämpft. Darüber hinaus bietet der Filter latenzfreie Umwandlungsdaten für einen hohen Datendurchsatz während der Kanalsequenzierung. Die ADS125H01 und ADS125H02 sind Pin-kompatibel und vollständig für den Betrieb innerhalb eines Temperaturbereichs von -40 °C bis +125 °C spezifiziert.
Merkmale
- 24-Bit-Delta-Sigma-ADC mit einem Eingang von ±20 V
- Programmierbare Datenrate: 2,5 SPS bis 40 kSPS
- Hochspannungs- und Hochimpedanz-PGA:
- Differential-Eingabebereich: bis zu ±20 V
- Programmierbare Gain: 0,125 bis 128
- Gleichtakt-Eingangsspannung: bis zu ±15,5 V
- Eingangsimpedanz: 1 GΩ (Minimum)
- Hochleistungs-ADC:
- Eingangsrauschen: 45 nVRMS (20 SPS)
- CMRR: 105 dB
- Normalmodus-Unterdrückung bei 50 Hz, 60 Hz: 95 dB
- Offset-Drift: 5 nV/°C
- Gain-Drift: 1 ppm/°C
- INL: 2 ppm
- Integrierte Funktionen und Diagnostik:
- 2,5 V Referenz: 3 ppm/°C Drift
- Taktoszillator: 2,5 % Fehler (max.)
- Erregerstromquellen (ADS125H02)
- GPIO für den Antrieb von externem Multiplexer (ADS125H02)
- Signal- und Referenzspannungsüberwachungen
- Zyklische Redundanzprüfung (CRC)
- Netzteile:
- AVDD: 4,75 V bis 5,25 V
- DVDD: 2,7 V bis 5,25 V
- HVDD: ±5 V bis ±18 V
- Betriebstemperatur: –40 °C bis +125 °C
- VQFN-Gehäuse von 5 mm × 5 mm
Applikationen
- PLC-Analog-Eingangsmodule:
- Spannung (wie z. B. ±10 V oder 0 V bis 5 V)
- Strom (z. B. 4 mA bis 20 mA mit Shunt)
- Temperatur (z. B. RTDs, Thermoelemente)
- Prüf- und Messverfahren:
- Hohe Gleichtakt-Spannungseingänge
- Batterieprüfung
- High-Side-Strommessung
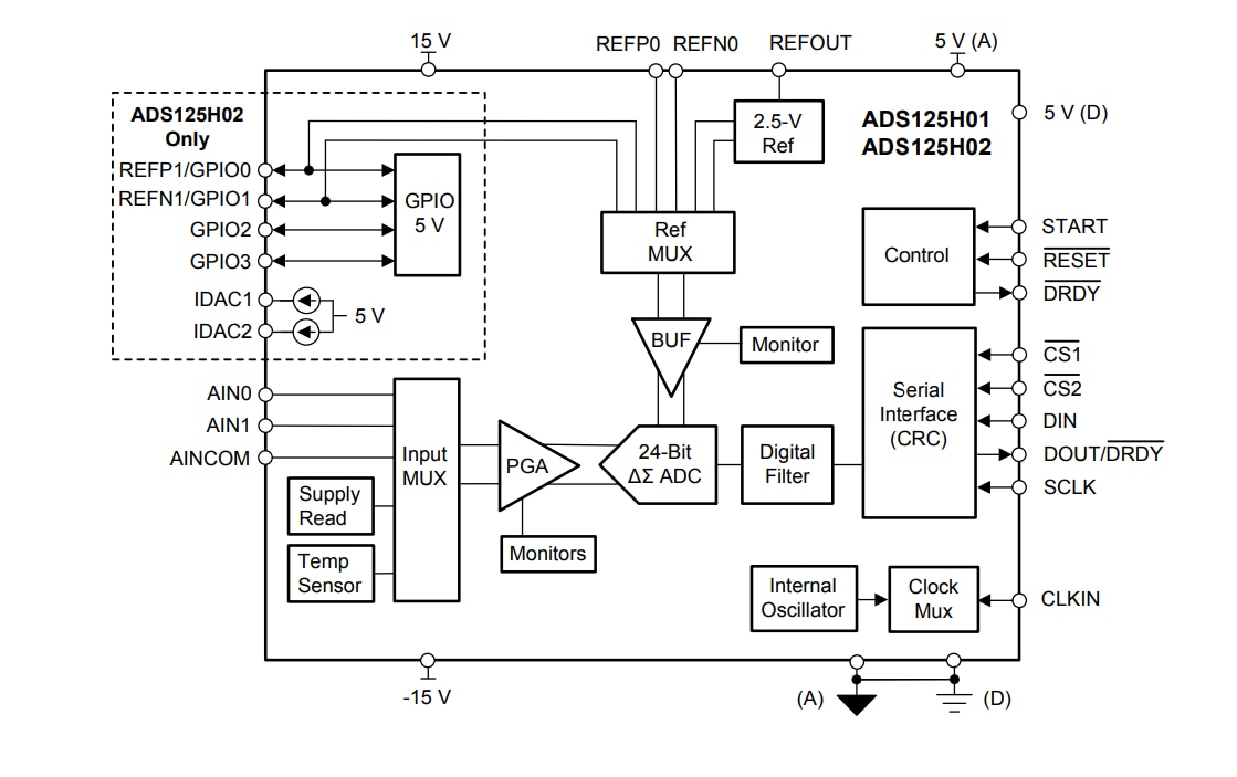
Blockdiagramm
