Texas Instruments ADC34J2x 12-Bit Analog-Digital-Wandler
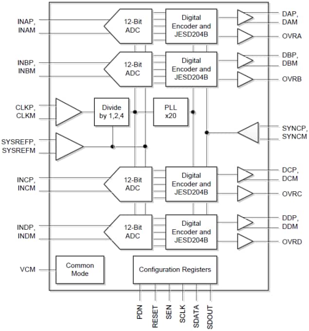
Der ADC34J2x 12-Bit-Analog-Digital-Wandler (ADC) von Texas Instruments ist ein hoch linearer, Dual-Kanal, 12-Bit, 50-MSPS auf 160-MSPS Analog-Digital-Wandler (ADC) mit äußerst geringem Energieverbrauch. Diese Geräte sind speziell entwickelt, um anspruchsvolle, hohe Eingangsfrequenzsignale mit großen Bereichsanforderungen zu unterstützen. Sie unterstützen JESD204B Schnittstellen, um die Anzahl der Schnittstellenleitungen zu reduzieren. Dies ermöglicht eine hohe Systemintegrationsdichte. Die JESD204B-Schnittstelle ist eine serielle Schnittstelle, an der die Daten eines jeden ADC serialisiert und über nur ein differentielles Paar ausgegeben werden. Eine interne phasengesperrte Schleife (PLL) multipliziert den eingehenden ADC-Abtasttakt mit 20, um den Bit-Takt abzuleiten, der verwendet wird, um die 14-Bit-Daten von jedem Kanal zu serialisieren.Merkmale
- Quad channel
- 12-Bit Resolution
- Single 1.8V supply
- Flexible input clock buffer with divide-by-1, -2, -4
- SNR = 69.6dBFS, SFDR = 86dBc at fIN = 70MHz
- Ultra-low power consumption of 203mW/Ch at 160MSPS
- 105dB Channel isolation
- Internal dither
- JESD204B Serial interface:
- Subclass 0, 1, 2 compliant up to 3.2Gbps
- Supports one lane per ADC up to 160MSPS
- Support for multi-chip synchronization
- Pin-to-pin compatible with 14-Bit version
- VQFN-48 (7mm × 7mm) Package
Applikationen
- Multi-carrier, multi-mode cellular base stations
- Radar and smart antenna arrays
- Munitions guidance
- Motor control feedback
- Network and vector analyzers
- Communications test equipment
- Nondestructive testing
- Microwave receivers
- Software Defined Radios (SDRs)
- Quadrature and diversity radio receivers
Functional Block Diagram
Veröffentlichungsdatum: 2015-04-20
| Aktualisiert: 2025-06-25
