STMicroelectronics ST25R300 NFC-Lesegerät
Das NFC-Lesegerät ST25R300 von STMicroelectronics ist ein hochleistungsfähiges Universal-Bauteil, das NFC-Initiator-, Ziel-, Lesegeräte- und Kartenemulationsmodi unterstützt. Das ST25R300 ist zur Erfüllung der Analog- und Digital-Standards EMVCo® PCD 3.2a ausgelegt und für die anspruchsvollsten POS-Terminal-Anwendungen optimiert.Das NFC-Lesegerät ST25R300 von STMicro ermöglicht schnelle EMVCo-Zertifizierungszyklen, selbst unter anspruchsvollen Bedingungen, wenn sich die Antenne hinter störanfälligen LCDs befindet. Das Bauteil enthält ein fortschrittliches Analog-Frontend (AFE) und ein hochintegriertes Datenframing-System für NFC-A/B-Leser (ISO14443A/B), einschließlich höhere Bitraten, NFC-F (FeliMesh™), NFC-V (ISO15693) bis zu 212 KBit/s und NFC-A/NFC-SPAF Kartenemulation. Spezielle Low-Level-Modi des AFE- und Framing-Systems können andere benutzerdefinierte Protokolle in einem Lese- oder Kartenemulationsbetrieb durchsetzen. Das Bauteil bietet eine hohe Hochfrequenzleistung (HF) mit dynamischem Leistungsausgang, um die Antennen direkt und effizient anzusteuern. Das Lesegerät erreicht große Interaktionsdistanzen, selbst mit kleinen Antennengrößen in Zugangskontroll- und EMVCo-Lesegeräten. Das Bauteil ermöglicht eine Kartenerkennung mit großer Reichweite und geringem Stromverbrauch durch Messung der I- und Q-Kanäle, die den Real- und Imaginärteil des Antennensignals darstellen. Dieser Ansatz reduziert den Stromverbrauch.
Das ST25R300 ist für den Betrieb mit einem breiten Stromversorgungsbereich (von 2,7 V bis 6,0 V), bei einem Umgebungstemperaturbereich von -40 °C bis +105 °C und einem breiten peripheren I/O-Spannungsbereich (von 1,65 V bis 5,5 V) ausgelegt. Durch die Kombination von hoher HF-Ausgangsleistung, stromsparenden Modi und einem großen Versorgungsbereich eignet sich das Bauteil hervorragend für alle NFC-Applikationen.
Merkmale
- Betriebsmodi
- Lese-/Schreibfunktion
- Kartenemulation
- HF-Kommunikation – Leser/Schreiber
- EMVCo PCD 3.2a analog- und digital-konform
- NFC-A/ISO/IEC 14443A bis zu 848 kbit/s
- NFC-B/ISO/IEC 14443B bis zu 848 kbit/s
- NFC-V/ISO/IEC 15693 bis zu 212 KBit/s
- NFC-F/FeliCa bis zu 424 KBit/s
- Low-Level-Modi zur Implementierung von MIFARE Classic®-kompatiblen und anderen benutzerdefinierten Protokollen (Kovio BC, CTS, B')
- Elektrische Eigenschaften
- Breiter Versorgungsspannungsbereich: 2,7 V bis 6,0 V
- Breiter Versorgungsbereich für periphere Kommunikation: 1,65 V bis 5,5 V
- Breiter Umgebungstemperaturbereich: -40 °C bis +105 °C
- Quarzoszillator für den Betrieb mit einem 27,12 MHz-Quarz mit schnellem Start
- HF-Kommunikation – Kartenemulation
- NFC-A/ISO/IEC 14.443 A 106 KBit/s
- NFC-F/FeliCa 212 KBit/424 KBit/s
- Hauptmerkmale
- Passiver P2P-Modus
- NFC-Forum-Universalbauteil
- USI-WLC-Lesegerät
- Stromsparende induktive Kartenerkennung
- I/Q-Demodulator mit Basisband-Kanalsummierung
- Dynamischer Leistungsausgang (DPO) steuert die Feldstärke, damit sie innerhalb der vorgegebenen Grenzen bleibt (Software-Funktion)
- Active Wave Shaping (AWS) reduziert Über- und Unterschwinger
- Der Rauschunterdrückungsempfänger (NSR) ermöglicht den Empfang in störungsreichen Umgebungen
- Serielle Peripherieschnittstelle (SPI) bis zu 10 MBit/s
- Möglichkeit zur Ansteuerung einer differentiellen oder zweier unabhängiger einendiger Antennen
Applikationen
- EMVCo PCD 3.2a-konformes kontaktloses Zahlungsterminal
- Zugangskontrolle
- NFC-Forum-konformes NFC-Universalbauteil
- WPC Qi Out-of-Band (OOB) Kommunikations- und Kartenschutz-NFC-Lesegerät
- NFC-Poller für kabelloses Laden (WLC)
- WPC Ki Power Transmitter (PTx) Kommunikationseinheit
- ISO/IEC 14443- und ISO15693-konformes NFC-Universalbauteil
- FeliCa Leser/Schreiber
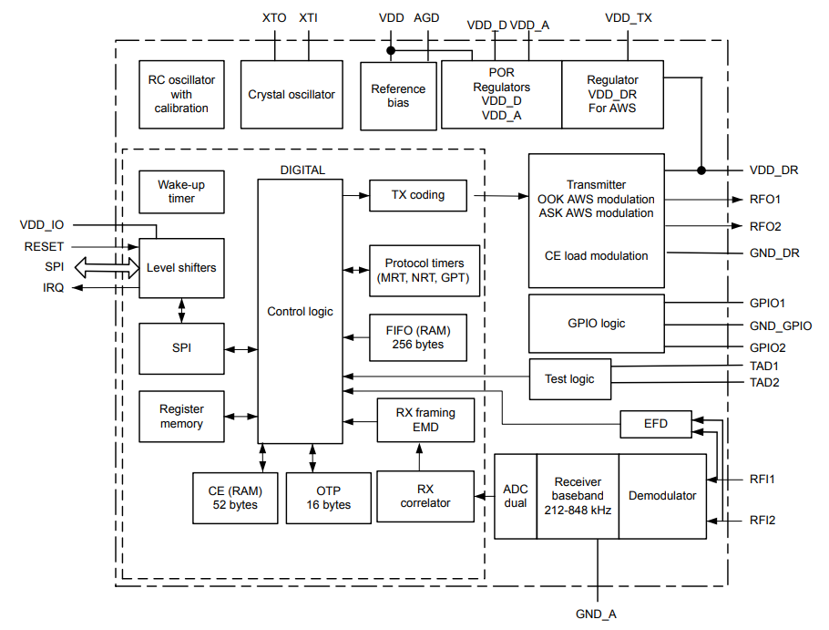
Blockdiagramm
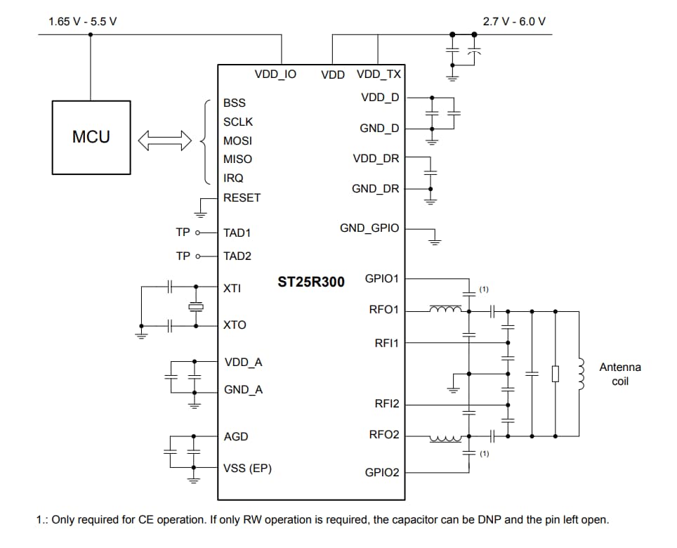
Systemdiagramm
