STMicroelectronics ST25R100 NFC/HF-RFID
Der ST25R100 NFC/HF-RFID-Leser-IC von STMicroelectronics liefert eine Spitzenleistung in einem kleinen 4 mm x 4 mm 24-Pin-TQFN-Gehäuse. Dieses Lesegerät IC bietet eine hohe Ausgangsleistung mit Dynamic Power Output (DPO), die eine einfache Integration in Applikationen mit kleinen Antennen ermöglicht. Das Lesegerät IC ST25R100 enthält einen RC-Oszillator und einen programmierbaren Timer, um im WU-Modus automatisch nach Karten oder anderen NFC-fähigen Geräten zu suchen. Dieses Lesegerät IC verfügt über externe Kommunikationsschnittstellen, z. B. eine serielle Peripherieschnittstelle (SPI), mit einer Datenübertragungsgeschwindigkeit von bis zu 6 Mbit/s. Das Lesegerät IC ST25R100 ist für den Betrieb innerhalb eines weiten Stromversorgungsbereichs von 2,7 V bis 5,5 V und eines breiten Umgebungstemperaturbereichs von -25°C bis 85°C ausgelegt. Zu den typischen Applikationen gehören Beauty und Lifestyle, Markenschutz, Zubehörerkennung, automatische Parametereinstellung, Identifizierung, Gesundheitswesen und Zugangskontrolle.Merkmale
- Verbesserte Erkennung von Karten mit niedrigem Stromverbrauch basierend auf induktivem Wake-up
- Hohe Ausgangsleistung mit Dynamic Power Output (DPO)
- Option zum Anschluss von zwei unabhängigen Single-Ended-Antennen
- Einstellbare ASK-Modulationstiefe
- Automatische Verstärkungsregelung und Squelch-Funktion zur Maximierung des Signal-Rausch-Verhältnisses
- Integrierte Regler zur Erhöhung des System-PSRR
- Messung von Antennencharakteristiken (I/Q-Kanäle)
- 256-Byte FIFO
Applikationen
- Gesundheitswesen
- Zugangskontrolle
- Beauty and Lifestyle
- Küchen- und Haushaltsgeräte
- Gaming und Bildung
- Heimautomatisierung und Unterhaltungselektronik
- Industrie und Tools
- IoT
- Markenschutz
- Zubehörerkennung
- Automatische Parametereinstellung
- Identifikation
- Messungen
- Transport und Ticketing
- Benutzerinteraktion und Kundenbindung
Technische Daten
- Serielle Peripherieschnittstelle (SPI) mit Datenübertragungsgeschwindigkeiten von bis zu 6Mbit/s
- Antennen-Spannungsbereich: bis zu 6 VP
- Stromversorgungsbereich: 2,7 V bis 5,5 V
- Umgebungstemperaturbereich: -25 °C bis 85 °C
- 4 mm x 4 mm 24-Pin-TQFN-Gehäuse
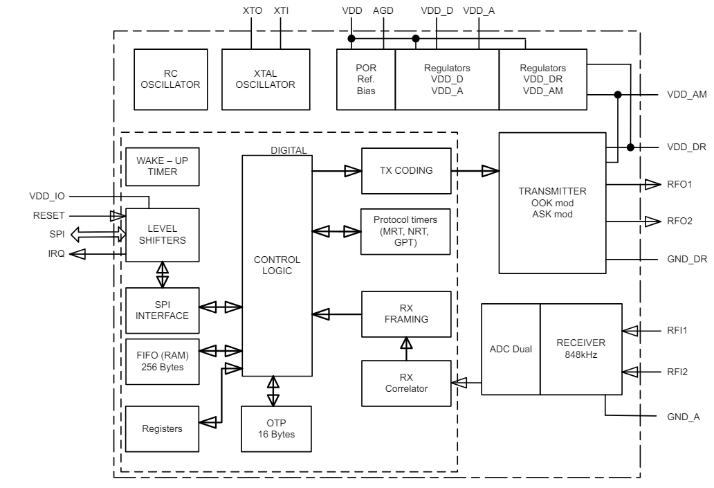
Blockdiagramm
Pin- und Signalbeschreibung
Veröffentlichungsdatum: 2024-06-26
| Aktualisiert: 2024-11-04
