STMicroelectronics STMicroelectronics LSM9DS1 iNEMO Trägheitssensor
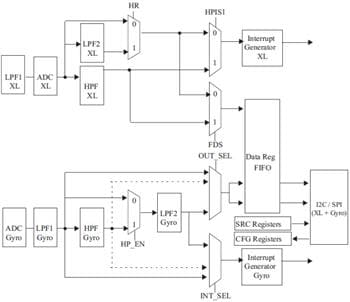
Der STMicroelectronics LSM9DS1 iNEMO Trägheitssensor ist ein System-in-Package mit einem digitalen 3D-Linearbeschleunigungssensor, einem digitalen 3D-Winkelgeschwindigkeitssensor und einem digitalen 3D-Magnetsensor. Der LSM9DS1 verfügt über einen linearen Beschleunigungsendwert von ±2g/±4g/±8g, einen Magnetfeldendwert von ±4/±8/±12/±16 Gauss und eine Winkelgeschwindigkeit von ±245/±500/±2000dps. Der LSM9DS1 enthält eine I2C serielle Busschnittstelle, die Standard- und Fast-Modus (100kHz und 400kHz) unterstützt und eine SPI serielle Standardschnittstelle. Magnetische, Beschleunigungsmesser- und Gyroskop-Erfassung kann aktiviert oder im Power-Down-Modus getrennt für intelligente Energieverwaltung eingestellt werden. Der LSM9DS1 ist in einem Land-Grid-Array-Gehäuse (LGA) aus Kunststoff erhältlich und der Betrieb über einen erweiterten Temperaturbereich von -40°C bis +85°C wird garantiert.Merkmale
- 3 acceleration channels, 3 angular rate channels, 3 magnetic field channels
- ±2/±4/±8g linear acceleration full scale
- ±4/±8/±12/±16 gauss magnetic full scale
- ±245/±500/±2000dps angular rate full scale
- 16-bit data output
- SPI / I2C serial interfaces
- Programmable interrupt generators
- Analog supply voltage 1.9V to 3.6V
- "Always-on" eco power mode down to 1.9mA
- Embedded temperature sensor
- Embedded FIFO
- Position and motion detection functions
- Click/double-click recognition
- Intelligent power saving for handheld devices
Applikationen
- Indoor navigation
- Smart user interfaces
- Advanced gesture recognition
- Gaming and virtual reality input devices
- Display/map orientation and browsing
The STMicroelectronics LSM9DS1 iNEMO Inertial Module is available in a plastic land grid array package (LGA) and it is guaranteed to operate over an extended temperature range from -40°C to +85°C.
Veröffentlichungsdatum: 2014-09-12
| Aktualisiert: 2022-03-11
