STMicroelectronics LD39130S Hochgenaue Spannungsregler
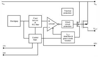
Die LD39130S hochgenauen Spannungsregler von STMicroelectronics bieten 300mA Maximalstrom bei einem Eingangsspannungsspektrum von 1,4 bis 5,5V mit einer typischen Dropout-Spannung von 300mV. Erhältlich in einem 1,2 x 1,3mm kleinen DFN6-Gehäuse und in einem sehr kleinen 4-Bump CSP-Gehäuse für maximale Platzersparnis. Das Gerät wird am Ausgang mit einem Keramik-Kondensator stabilisiert. Die sehr niedrige Drop-Spannung, der niedrige Ruhestrom und die geräuscharmen Funktionen eignen den Regler für batteriebetriebene Energiespar-Anwendungen. Der Regler integriert eine interne Logikschaltung, die es ihm ermöglicht in einem extrem niedrigen Verbrauchsmodus ("grüner Modus") betrieben zu werden, wenn der erforderliche Ausgangsstrom sehr niedrig ist. Der normale Arbeitsmodus mit schneller Einschwingzeit wird wiederhergestellt, wenn der Laststrom zunimmt. Die Freigabe-Logik-Steuerfunktion bringt den LD39130S in den Abschaltmodus und ermöglicht so einen gesamten Stromverbrauch von weniger als 0,1μA. Die rückläufige Stromversorgung und Wärmeschutz sind vorhanden.STMicroelectronics LD39130S High Accuracy Voltage Regulator is available in compact DFN6 and CSP4 packages, ideal for space-constrained applications.
Merkmale
- 1.4V to 5.5V input voltage range
- Ultra low dropout voltage (300mV (typical) at 300mA load)
- Automatic green mode
- Very low quiescent current
- ± 1.0% at 25°C output voltage tolerance
- 300mA guaranteed output current
- A wide range of output voltages available on request
- Logic-controlled electronic shutdown
- Internal soft-start
- Compatible with ceramic capacitor COUT = 1μF
- Internal current foldback and thermal protection
- Package options
- 1.2mm x 1.3mm DFN6
- 0.69mm x 0.69mm Flip-Chip
- -40°C to +125°C operating temperature range
Applikationen
- Smartphones
- Tablets
- Cameras
- Cordless phones and similar battery-powered systems
- Portable media players
Veröffentlichungsdatum: 2014-04-18
| Aktualisiert: 2024-04-23
