STMicroelectronics L99MC6GJ Treiber mit mittlerer Ausgangsstromstärke

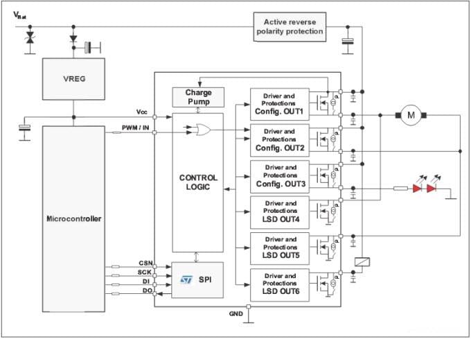
Der L99MC6GJ Treiber mit mittlerer Ausgangsstromstärke von STMicroelectronicsist ist ein hochflexibler monolithischer Treiber. Er umfasst drei zugeordnete Low-Side-Ausgänge (Kanäle 4 bis 6) und drei unabhängig selbstkonfigurierbare Ausgänge (Kanäle 1 bis 3). Diese können entweder als Low-Side- oder High-Side-Treiber in beliebiger Kombination verwendet werden. Die L99MC6GJ können induktive Lasten, weiße Glühlampen oder LEDs steuern.

Merkmale

  • 3 independently self configuring high-/low-side channels
  • 3 low-side channels
  • 0.7Ω RON (typ) at Tj= +25°C
  • Current limit of each output at min. 0.6A
  • PWM direct mode
  • Bulb mode with recovery mode
  • LED mode with slew rate control
  • Bridge mode with crosscurrent protection
  • SPI interface for data communication
  • Temperature warning
  • All outputs overtemperature protected
  • All outputs short-circuit protected
  • Configurable open-load detection in off mode
  • 3.0V to 5.25V supply voltage
  • 5μA (typ) current consumption in standby mode
  • Internal clamp diodes
  • HS switches operate down to 3V crank voltage

Applikationen

  • Relay drivers
  • LED drivers
  • Motor drivers
  • Mirror adjustment

Application Diagram

Applikations-Schaltungsdiagramm - STMicroelectronics L99MC6GJ Treiber mit mittlerer Ausgangsstromstärke
Veröffentlichungsdatum: 2015-04-23 | Aktualisiert: 2022-03-11