STMicroelectronics L99LDLH32 32-Kanal-LED-Treiber mit CAN-FD-Light
Der L99LDLH32 32-Kanal-LED-Treiber von STMicroelectronics ist ein monolithischer Linearstromregler, der für externe OLED-Rückbeleuchtungsapplikationen für Fahrzeuge optimiert ist. Die High-Side-Konfiguration der Ausgangskanäle des L99LDLH32-Treibers ermöglicht es dem Gerät, OLED-Panels mit einer gemeinsamen Kathode zu betreiben. Der L99LDLH32 bietet eine Ausgangsantriebsleistung bis zu 35 V und eignet sich hervorragend für die unterschiedlichsten OLED-Durchlassspannungsanforderungen. Das Bauteil verfügt über 32 geregelte Stromquelle , die individuell programmierbaren Strom von 1 mA bis zu 15 mA liefern können, um jedes Pixel des OLED-Panels unabhängig anzusteuern.Der L99LDLH32 Treiber integriert eine robuste, rein automotive CAN-FD-Light-kompatible Kommunikationsschnittstelle, die eine hohe Datenübertragungsrate (bis zu 1 Mbit/s) ermöglicht und die CAN-FD-Struktur für lange Frames nutzt. Neben der CAN-FD-Light-kompatiblen physikalischen Schicht integriert das Bauteil auch den Protokoll-Handler, so dass keine zusätzlichen externen Geräte benötigt werden, um die Kommunikation mit dem Commander ECU zu ermöglichen. Der L99LDLH32 kann im Busmodus über eine CAN-FD-Light-kompatible Schnittstelle oder im Stand-Alone-/Fail-Safe-Modus über interne FTP-Speicherregister (Few Time Programmable) betrieben werden.
Der 32-Kanal-LED-Treiber STMicroelectronics L99LDLH32 wird in einem QFN48L-Gehäuse mit freiliegendem Pad für verbesserte thermische Leistung angeboten. Dieses Bauteil ist gemäß AEC-Q100 für Fahrzeuganwendungen zugelassen.
Merkmale
- AEC-Q100-qualifiziert
- CAN-FD-Light-kompatible serielle Schnittstelle, Protocol Handler, Draft Specification Proposal (DSP) erhältlich von CAN in Automation (CiA)
- Integrierter Präzisions-Oszillator, kein externer Quarz erforderlich
- Timeout-Watchdog mit Limp Home
- Niedriger Standby-Strom
- Stand-Alone-, Fail-Safe- und Bus-Modus-Betrieb
- Direktantrieb (1 Direkteingang) für 1 Funktionsgruppe mit ASIL-Anforderungen
- Weitestgehende Konfigurierbarkeit durch eingebettete nichtflüchtige und flüchtige Speicher
- Betriebsspannungsbereich: 5,5 V bis 40,0 V
- 32 Konstantstrom-Ausgangskanäle, High-Side-Konfiguration
- Ausgangsstrom von 1 mA bis 15 mA, parallelschaltbare Ausgänge
- Ausgangsspannung bis zu 35 V
- Stromeinstellung pro Kanal über 8-Bit-DAC
- Rückkopplungsspannung zum externen Vorregler zur Optimierung der Regelspannung und Minimierung der Gesamtverlustleistung
- Analoges Dimmen, individuelle exponentielle 8-Bit-PWM-Kanal-Helligkeitsregelung und globales 8-Bit-PWM-Dimmen
- Programmierbare PWM-Frequenz
- Langsame Ein- und Ausschaltzeit, allmähliche Ausgangsverzögerung und Dithering-Takt für bessere EMV-Leistungen
- Integrierter 8-Bit-ADC für umfassende und flexible Diagnose
- Dedizierte Leitung für Fehlerbus
- Temperaturwarnung (1 Schwelle)
- Abschaltung bei Übertemperatur
- Erkennung von und Schutz vor Kurzschlüssen und offenen Lasten
- Automatisches LED-Strom-Derating durch externe NTC-Messung und Bauteil-Sperrschichttemperatur (TJ)
- -40 °C bis +150 °C Betriebstemperaturbereich
- 7,0 mm x 7,0 mm QFN48L-Gehäuse mit offenem Pad
Applikationen
- OLED-Heckbeleuchtung für Kraftfahrzeuge
- Ambiente-Beleuchtung für Kraftfahrzeuge
Videos
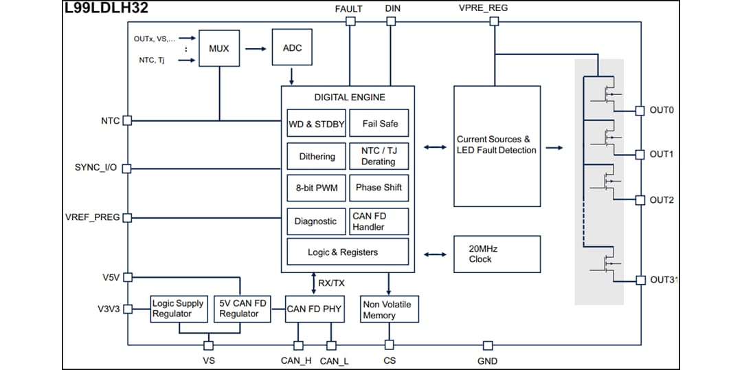
Blockdiagramm
Typische Applikations-Schaltung
