STMicroelectronics ISO808 Galvanisch getrennte 8-Kanal-Treiber
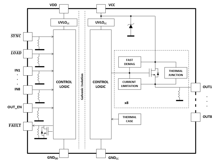
Galvanisch getrennte 8-Kanal -Treiber ISO808 von STMicroelectronics sind zum Ansteuern beliebiger Lasten vorgesehen, wobei eine Seite mit Masse verbunden ist. Jeder Treiber enthält zwei unabhängige, galvanisch getrennte Spannungsbereiche (VCC und VDD für die Prozess- und Logikschaltung ). Diese Treiber bieten einen niedrigen Versorgungsstrom, eine maximale Versorgungsspannung der Prozessstufe von 45 V und einen Widerstand im eingeschalteten Zustand von 0,125 Ω pro Kanal (typisch)R.DS(ON), Reset Funktion für deaktivierte IC-Ausgänge, hohe Gleichtakt-Transientenimmunität und Kurzschlussschutz an den Ausgangskanälen. ISO808 Treiber bieten außerdem Übertemperaturschutz pro Kanal mit thermischer Unabhängigkeit der einzelnen Kanäle, Gehäuseübertemperaturschutz, Überspannungsschutz und Schutz vor GND- und VCC-Verlust.ISO808 -Treiber enthalten einen zusätzlichen GehäuseTemperatursensor, der den gesamten Chip vor Übertemperatur (OVC-Ereignis) schützt. Kanäle ohne Überlast funktionieren weiterhin normal. Diese Treiber verfügen außerdem über einen Schutz gegen Masseverlust, VCC- und VDD-UVLOs (mit Hysterese) sowie integrierte Watchdog-Funktionen. ISO808 -Treiber kommen in speicherprogrammierbaren Logikschaltung der Ein-/Ausgang peripherer Industrie-PCs und nummerischen Steuerungsmaschinen zum Einsatz.
Merkmale
- Schnelle Entmagnetisierung induktiver Lasten VDEMAG(TYP) = VCC - 54 V
- Niedriger Versorgungsstrom auf Prozess- und Logikseite
- Abschaltung bei Unterschreitung der Versorgungsspannung mit automatischem Neustart und Hysterese
- Logikschaltung 5 V und 3,3 V TTL/CMOS und MCU- kompatibel E/As
- Gemeinsamer Pin zum Aktivieren/Deaktivieren der Ausgabe
- Reset-Funktion zum Deaktivieren von IC-Ausgängen
- Hohe Gleichtakt-Transientenimmunität
- Kanalweiser Übertemperaturschutz mit thermischer Unabhängigkeit von separaten Kanälen
- Gehäuseübertemperatur-Schutz
- Überspannungsschutz (VCC-Klemmen)
- Verlust der GND- und VCC-Schutzschaltungen
- Häufige Fehlerdiagnose bei offenem Drain
- Entwickelt gemäß IEC 61000-4-2, IEC 61000-4-4, IEC 61000-4-5 und IEC 61000-4-8
- Zertifiziert nach UL1577 und UL508
- Gehäuse PowerSO-36
Technische Daten
- 45 V maximale Versorgungsspannung der Prozessstufe
- 9,2 VCC bis 36 VCC breiter Prozessseiten- OperationsBereich
- 0,125 Ω Widerstand im EIN-Zustand pro Kanal (typisch) RDS(ON)
- Kurzschlusssicherung auf Ausgangskanälen:
- ISO808 ILIM(min.) = 0,7 A
- ISO808 ILIM(min.) = 1 A
- Betriebsstrom pro Kanal-Prozessseite:
- ISO808 IOUT <0,7>0,7>
- ISO808-1 IOUT <>
Applikationen
- Treiber für alle Arten von Lasten:
- Widerstandsfähig
- Kapazitiv
- Induktiv
- Speicherprogrammierbare Steuerung
- Industrielle PC-Peripheriegeräte für Ein- und Ausgabe
- Nummerisch gesteuerte Maschinen
Blockdiagramm
Veröffentlichungsdatum: 2023-01-20
| Aktualisiert: 2025-08-08
