Skyworks Solutions Inc. SI823Hx Gate-Treiber-Boards
Die SI823Hx Gate-Treiber-Boards von Skyworks Solutions eignen sich hervorragend für den Antrieb von Leistungsmodulen und diskreten Transistoren. Diese isolierte Zweikanal-Gate-Treiberlösung verfügt über eine Differential-Digitalschnittstelle, eine optimierte isolierte On-Board-Stromversorgung und vom Benutzer konfigurierbare Ein- und Ausschalt-Gate-Widerstände. Die Gate-Treiber-Boards SI823Hx sind mit 1- Ω - und mit 4-Ω -Gate-Widerständen erhältlich und verfügen über Statusanzeige-LEDs und Testpunkte, die die Evaluierung und das Prototyping vereinfachen. Diese Gate-Treiber-Boards bieten einen Überlappungsschutz und einen Verpolungsschutz für die 12-V-Eingangsversorgung. Die SI823Hx-Boards werden in einem Temperaturbereich von -50°C bis +85°C und mit einem Versorgungsspannungsbereich von 10,2 V bis 13,2 V betrieben.Weitere Systemkomponenten
Das Si823Hx Gate-Treiber-Board ist sehr vielseitig, muss jedoch mit anderen Komponenten kombiniert werden, um ein vollständiges System zu bilden. Das Si823Hx Gate-Treiber-Board benötigt Differential-Signaleingänge und die meisten Laborausrüstungen bieten nur einendige Signale. Die Verwendung des Wolfspeed Differential-Transceiver-Begleittools kann sich als hilfreich erweisen. Siehe auch weitere, unten aufgeführte Evaluierungstools.
Evaluierungstool-Matrix
Evaluierungstools
Merkmale
- High-Side-/Low-Side-Gate-Treiber mit zwei Eingängen
- Benutzerprogrammierbare Totzeit
- Überlappungsschutz
- Symmetrischer Spitzenstrom: 4 A
- Verfügbar mit 1-Ω- oder 4-Ω-Gate-Widerständen
- Unabhängige Steuerung des Ein-/Ausschaltens des Timing durch Auswahl des Gate-Widerstands
- Flexible isolierte Netzteile
- DC-Bus-Spannung von bis zu 800 V
- Sicherheitseingestufte Isolierung: 5 kVRMS
- Gleichtakt-Störfestigkeit (Common Mode Transient Immunity, CMTI) von 125 kV/μs
- Umpolungsschutz für eine Eingangsversorgung von 12 V
- Differential-Eingänge für eine erhöhte Rauschimmunität
- Ausgang der Modultemperatur (NTC) als frequenzmoduliertes digitales Signal
Technische Daten
- Versorgungsspannungsbereich: 10,2 V bis 13,2 V
- Schaltfrequenz: 100 kHz
- Betriebstemperaturbereich: -50 °C bis +85 °C
- Lagertemperaturbereich: -50 °C bis +125 °C
Lieferumfang Kit
- 1 x Si823H-ABWA-GDB Gate-Treiber-Board:
- Si823H2CD-IS3 Isolierter Zweikanal-Gate-Treiber
- Si88421BC-IST Zweikanal-Digitalisolator mit integriertem DC/DC-Wandler
- 1 x Kurzanleitungskarte
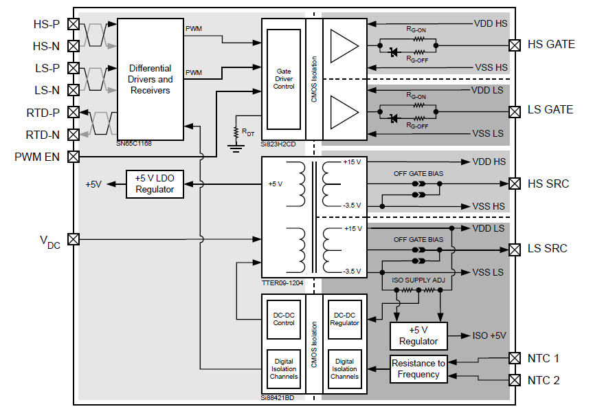
Blockdiagramm
Veröffentlichungsdatum: 2021-01-15
| Aktualisiert: 2022-03-11
