Texas Instruments LMK5C22212AS1 Netzwerk-Synchronisator
Der Netzwerk-Synchronisator LMK5C22212AS1 von Texas Instruments ist ein hochleistungsfähiger Jitter-Cleaner und Netzwerk-Synchronisator, der zur Erfüllung der strengen Anforderungen von drahtlosen Kommunikations- und Infrastrukturapplikationen ausgelegt ist. Das Bauteil ist mit Softwareunterstützung für die IEEE-1588 PTP-Synchronisierung zu einer primären Referenztaktquelle ausgestattet. Der Netzwerk-Synchronisator integriert zwei DPLLs für berührungsloses Schalten und Jitter-Dämpfung mit programmierbarer Schleifenbandbreite und ohne externe Schleifenfilter, und bietet so maximale Flexibilität und Benutzerfreundlichkeit. Alle DPLL-Phasen sperren eine gekoppelte APLL zu einem DPLL-Referenzeingang.Die APLL1 verfügt über einen extrem leistungsstarken PLL mit der proprietären Bulk-Acoustic-Wave-Technologie (BAW) von TI (bekannt als BAW APLL). Er kann Ausgangstakte mit 40 fs (typ.)/60 fs (max.) 12 kHz bis 20 MHz RMS-Jitter bei 491,52 MHz erzeugen, unabhängig vom Jitter und der Frequenz der XO- und DPLL-Referenzeingänge. Der APLL2/DPLL2 bietet eine Option für einen zweiten Frequenz- und/oder Synchronisationsbereich.
Die Referenzvalidierungsschaltung überwacht die DPLL-Referenztakte und führt bei Erkennung eines Umschaltungvorgangs einen unterbrechungsfreien Wechsel zwischen den Eingängen durch. Der Nullverzögerungsmodus (Zero Delay Mode, ZDM) und die Phasenauslöschung können aktiviert werden, um die Phasenbeziehung zwischen Eingang und Ausgang zu steuern. Das Bauteil ist über SPI oder I2C vollständig programmierbar. Der integrierte EEPROM kann zur Anpassung der Systemstarttakte verwendet werden. Darüber hinaus verfügt das Bauteil über werksseitige Standard-ROM-Profile als Fallback-Optionen.
Merkmale
- BAW-VCO-basierte drahtlose Infrastruktur und Ethernet-Taktgeber mit extrem geringem Jitter
- 40 fs (typ.)/57 fs (max.) RMS-Jitter bei 491,52 MHz
- 50 fs (typ.)/62 fs (max.) RMS-Jitter bei 245,76 MHz
- Zwei leistungsstarke digitale Phasenregelschleifen (DPLLs) mit zwei analogen Phasenregelschleifen (APLLs)
- Programmierbare DPLL-Schleifenfilterbandbreite von 1 mHz bis 4 kHz
- < 1 ppt DCO-Frequenzanpassungsschrittgröße
- Zwei differenzielle oder einendige DPLL-Eingänge
- Eingangsfrequenz: 1 Hz (1 PPS) bis 800 MHz
- Digitaler Holdover und Hitless-Schaltung
- 12 differentielle Ausgänge mit programmierbaren HSDS-, AC-LVPECL-, LVDS- und HSCL-Formaten
- Bis zu 16 Gesamtfrequenzausgänge insgesamt bei Konfiguration mit sechs LVCMOS Frequenzausgängen an OUT0_P/N, OUT1_P/N, GPIO1 und GPIO2 und 10 Differenzausgänge an OUT2_P/N bis OUT11_P/N
- Ausgangsfrequenz von 1 Hz (1 PPS) bis 1250 MHz mit einstellbarer Amplitude und Gleichtakt
- Konform mit PCIe Gen 1 bis 6
- I2C oder Dreidraht-/Vierdraht-SPI
Applikationen
- Drahtlose 4G- und 5G-Netzwerke
- Aktives Antennensystem (AAS), mMIMO
- Makro-Funkeinheit (RRU)
- CPRI-/eCPRI-Basisband, zentrale und verteilte Einheiten (BBU, CU, DU)
- Kleinzellen-Basisstation
- SyncE (G.8262), SONET/SDH (Stratum 3/3E, G.813, GR-1244, GR-253), IEEE-1588 PTP-Sekundärtakt
- Jitter-Reinigung, Wanderdämpfung und Referenztaktgenerierung für 112G/224G PAM4 SerDes
- Optische Transportnetzwerke (OTN G.709)
- Leitungszugriff mit fester Bandbreite
- Industrie (Prüf- und Messsysteme)
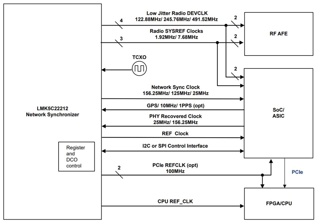
System-Blockdiagramm
