ROHM Semiconductor BD41041FJ-C Automotive-CAN-Transceiver
Der ROHM Semiconductor BD41041FJ-C Automotive-CAN-Transceiver ist ein Transceiver LSI für die CAN-Kommunikation (vollständig mit ISO 11898-2:2016 konform). Das Baiteil ist mit einer Schaltung ausgestattet, die als Sender und Empfänger fungiert und für die CAN-FD-Hochgeschwindigkeits-Kommunikation (bis zu 5 MBit/s) erforderlich ist. Der BD41041FJ-C von ROHM Semiconductor ist AEC-Q100-qualifiziert, verfügt über eine Übertragungsrate von 40 kBit/s bis 1 MBit/s und verfügt über eine Stromsparmodus-Korrespondenz.Merkmale
- AEC-Q100-qualifiziert
- Übertragungsrate von 40 kBit/s bis 5 MBit/s
- Energiesparmodus-Entsprechung
- SPLIT-Spannungsausgang zur Stabilisierung des rezessiven Bus-Pegels
- Unterspannungserkennungsfunktion
- Thermische Abschaltungsfunktion (TSD)
- TXD-dominante Timeout-Funktion (Normalmodus)
- CAN-Bus-dominante Timeout-Funktion (Standby-Modus)
- Bus-Aktivierungsfunktion
Technische Daten
- Empfohlner Betriebsspannungsbereich: 4,75 V bis 5,25 V
- Absolute maximale Nennleistung: -0,3 V bis +7,0 V VCC, TXD, RXD, STB
- Absolute maximale Nennleistung: -27 V bis +40 V CANH, CANL, SPLIT
Applikationen
- CAN-Kommunikation für Automotive-Netzwerke
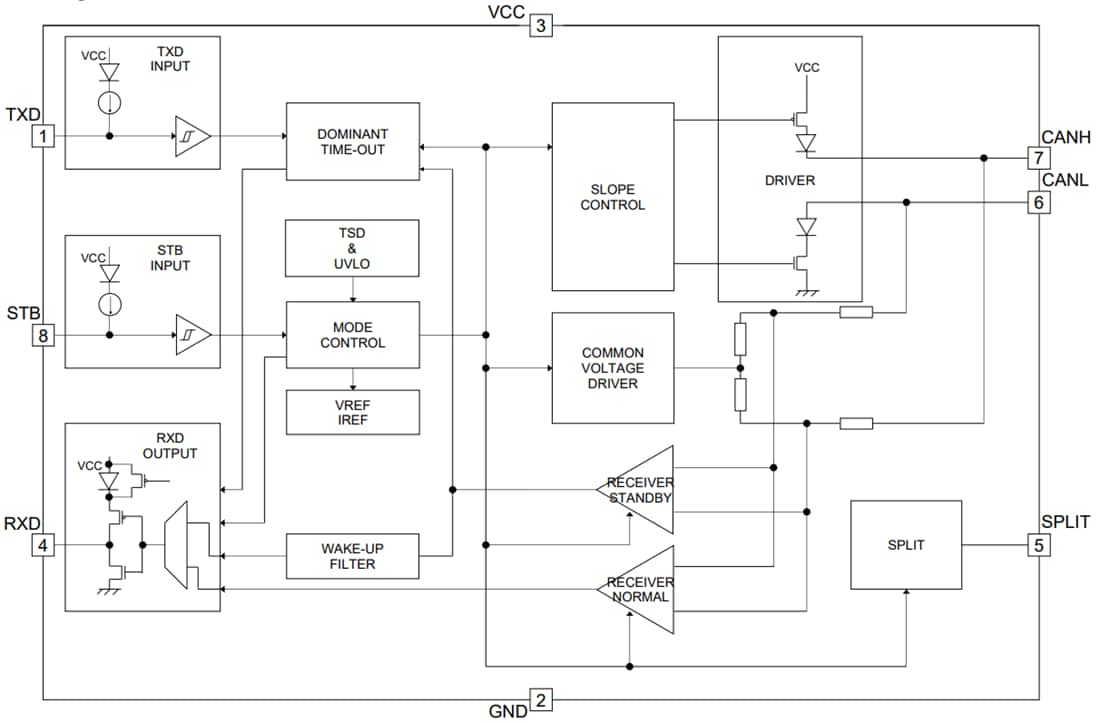
Blockdiagramm
Veröffentlichungsdatum: 2022-05-27
| Aktualisiert: 2022-05-31
