Renesas Electronics RL78/G22 Kapazitives Touch-Bewertungssystem
Das Renesas Electronics RL78/G22 Evaluierungssystem für kapazitiven Touch ist ein Kit, das zur Evaluierung des RL78/G22 von Mikrocontrollern ausgelegt ist. Diese Kit evaluiert verschiedene Touch-Funktionen (Taste, Schieberegler und Rad) und dient als Referenz beim Design von Boards oder Software. Das RL78/G22 Kit verfügt über einen E2/E2 Lite debugger-Steckverbinder, Universal-Schalter und LEDs und einen kapazitiven Berührungssensor (CTSU2La) (29 Kanäle verfügbar). Das RL78/G22 Evaluierungssystem für kapazitiven touch erfüllt die Anforderungen gemäß IEC 61000-3-3 und IEC 61000-4-6 Stufe 4.Merkmale
- E2/E2 Lite Debugger-Steckverbinder Mikrocontroller-Programmierung und Debugging
- Universal-Schalter und LEDs
- Evaluieren Sie verschiedene Touch-Funktionen (Taste, Schieberegler und Rad)
- Einfaches Prototyping
- Wird als Referenz bei der Entwicklung von Software Boards oder
- RL78/G22 MCU (R7F102GGE2DFB) bestückt
- Kapazitiver Berührungssensor (CTSU2La) Anschluss 29 Kanäle verfügbar
- Einfache Anpassung der Empfindlichkeit mit QE für kapazitiven Touch:
- Einfache Bedienung mit einer intuitiven Schnittstelle
- Einfach zu entwickelnde Touch-Schnittstellen auch für Anfänger mit GUI
- Quellcode mit automatisch angepasstem Ausgang
- Konform mit IEC 61000-4-3 und IEC 61000-4-6 Stufe 3
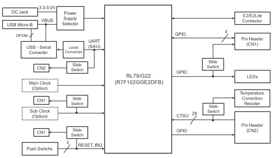
Blockdiagramm
Weitere Ressourcen
- Applikationshinweis: RL78/G22 Stromsparender kapazitiver Touch-Leitfaden
- Applikationshinweis: Kapazitiver Sensor-MCU
- Applikationshinweis: RL78 CTSU-Modul Software-Integrationssystem
- Applikationshinweis: RL78 TOUCH-Modul-Software-Integrationssystem
- Applikationshinweis: Anleitung zur kapazitiven Touch-Rauschimmunität von MCU
- Applikationshinweis: RL78 Using QE und SIS zur Entwicklung von kapazitiven Touch-Applikationen
- Applikationshinweis: CTSU Capacitive Touch Introduction Guide
- Applikationshinweis: RA, RL78, RX, Synergy CTSU Selbsttest-Software
- Applikationshinweis: RL78/G22 Beispielcode des Evaluierungssystems für kapazitiven Touch
- Applikationshinweis: RL78/G22 Muster S/W UI demo mit MEC-Funktion
- Applikationshinweis: CTSU Capacitive Touch Electrode Design Guide
Veröffentlichungsdatum: 2023-03-24
| Aktualisiert: 2023-10-02
