Renesas Electronics RAA489204 Li-Ionen-Batteriemanager-IC
Der Renesas Electronics RAA489204 Industriestandard-Li-Ionen-Batteriemanager-IC überwacht bis zu 14 reihengeschaltete Zellen und ist zur Erfüllung der strengen Industrieleistungs-, Zuverlässigkeits- und Sicherheitsanforderungen optimiert. Das Bauteil bietet alle Funktionen, die von einem solch kritischen Bauelement in einem Batteriemanagementsystem erwartet werden, wie z. B. eine genaue Zellspannungs-und Temperaturüberwachung, einen Zellenausgleich und eine umfassende Systemdiagnose.In einer typischen Konfiguration kommuniziert ein Master-RAA489204 mit einem Host-Mikrocontroller über einen SPI-Anschluss und bis zu 29 zusätzliche RAA489204 Bauteile, die über eine robuste proprietäre Zweidraht-Verkettung verbunden sind. Dieses Kommunikationssystem ist hochflexibel und kann mit einer Kondensatorisolierung, einer Transformatorisolierung oder einer Kombination aus beiden implementiert werden.
Drei Zellenausgleichsmodi sind enthalten (manueller Ausgleichsmodus, zeitlich begrenzter Ausgleichsmodus und automatischer Ausgleichsmodus). Der automatische Ausgleichsmodus beendet den Ausgleich, nachdem eine vom Host festgelegte Menge an Ladung aus jeder Zelle entfernt wurde. Der RAA489204 von Renesas Electronics ist in einem 64-Pin-TQFP-Gehäuse untergebracht und für den Betrieb von -40 ºC bis +85 ºC ausgelegt.
Merkmale
- Überwacht und verwaltet bis zu 14 Zellen; alle Standard-Li- Ionen-Zellen-Chemien
- Robuste Zweidrahtverkettungs-Kommunikationssysteme mit einer Kondensator- oder Transformatorkopplung mit bis zu 1 MBit/s
- Hochsicherheits-Kommunikationsprotokoll
- Messung der Zellenspannung mit hoher Genauigkeit: < 10 mV (typisch)
- Bis zu sechs externe Temperaturüberwachungseingänge
- Interne Temperaturüberwachung mit Warnsignal
- Zwei Universal-I/O-Pins
- Automatische Erkennung der Position in einem Batteriestapel
- Misst und führt eine Rücklesbarkeit auf allen Spannungen, Temperaturen und Diagnosefunktionen für 112 Zellen in weniger als 10 ms aus
- Vom Benutzer wählbare Zellenmess-Mittelwertfunktion
- 14-Bit-Spannungs- und Temperaturmessungen
- Integrierte Systemdiagnostik für alle wichtigen internen Funktionen
- Ein Watchdog schaltet das Bauteil aus, wenn die Kommunikation unterbrochen wird
- Vollständig tolerant gegenüber EMV und Transienten
Applikationen
- Akkus für elektrische Mobilität
- Tragbare und halb-tragbare Geräte
- Backupbatterie- und Energiespeichersysteme, die ein Management und eine Überwachung mit hoher Genauigkeit erfordern
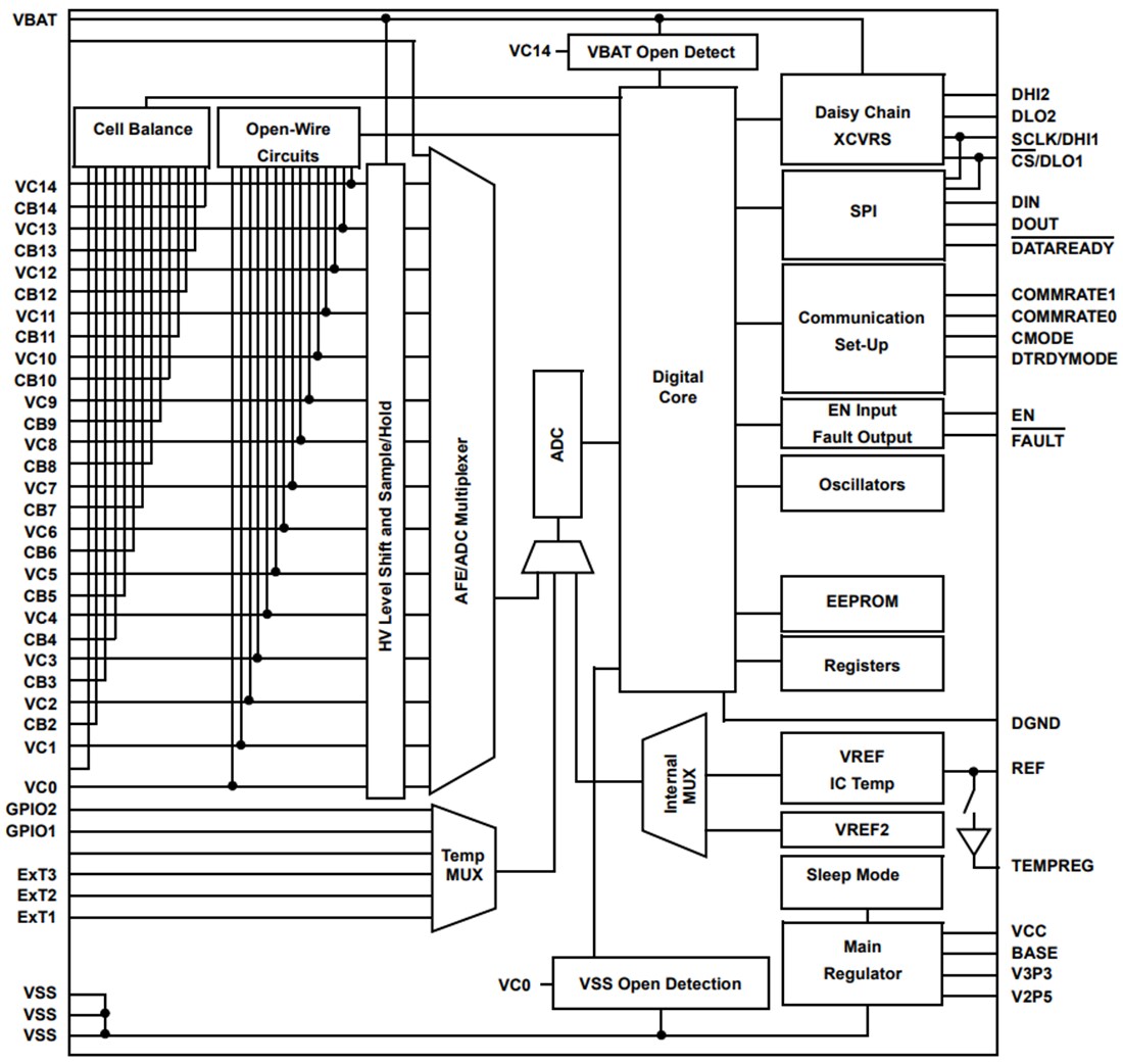
Blockdiagramm
