Texas Instruments LP5899/LP5899-Q1 LED-Treiber
Die LED-Treiber LP5899/LP5899-Q1 von Texas Instruments sind SPI-kompatible Bauteile, die über einen internen Oszillator verfügen, um den von der LP589x/LP589x-Q1-Familie benötigten kontinuierlichen Takt zu erzeugen. Diese LED-Treiber melden Fehler sowohl in der LP589x/LP589x-Q1 Daisy Chain als auch LP5899/LP5899-Q1 intern. Die Bauteile der Baureihe LP5899/LP5899-Q1 können beliebig viele kaskadierte LED-Treiber der LP589x/LP589x-Q1-Produktfamilie ansteuern und die maximale Anzahl von kaskadierten Bauteilen wird durch den LED-Treiber begrenzt. Diese LED-Treiber arbeiten in einem Temperaturbereich von -40 °C bis +125 °C. Die Treiber der Baureihe LP5899/LP5899-Q1 eignen sich hervorragend für SPI-kompatible Konnektivität für die Bauteile LP5891/LP5891-Q1 und LP5892/LP5892-Q1. Die Bauteile der Baureihe LP5899-Q1 von Texas Instruments sind gemäß AEC-Q100 für Fahrzeuganwendungen zugelassen.Merkmale
- Gemäß AEC-Q100 für Fahrzeuganwendungen zugelassen:
- Klasse 1: Umgebungstemperaturbereich -40 °C bis 125 °C
- HBM-Bauteilklassifikation Stufe H3A
- CDM-Bauteilklassifikation Stufe C5
- Betriebsspannungsbereich VCC: 2,5 V bis 5,5 V
- SPI-Peripherie:
- Datenübertragungsrate bis zu 20 MHz
- Unterstützt mehrere Peripheriegeräte mit einem Controller
- Continuous Clock Serial Interface (CCSI) Controller und Peripherie:
- Programmierbarer Takt-Jitter für die Verbesserung der EMI
- Diagnose:
- Open-Drain-FAULT-Pin
- SPI-Kommunikationsverlusterkennung
- CRC für SPI-Kommunikation
- CCSI-Datenintegrität
- Datenbereite Unterbrechung für die Verfügbarkeit von Daten
Applikationen
- SPI-kompatible Konnektivität für die Bauteile LP5891-Q1 und LP5892-Q1
Applikationsdiagramm
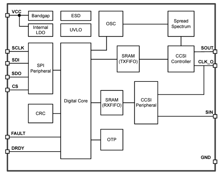
Funktionales Blockdiagramm
Veröffentlichungsdatum: 2025-01-13
| Aktualisiert: 2025-05-09
