onsemi NXH400N100L4Q2F2 IGBT-Module
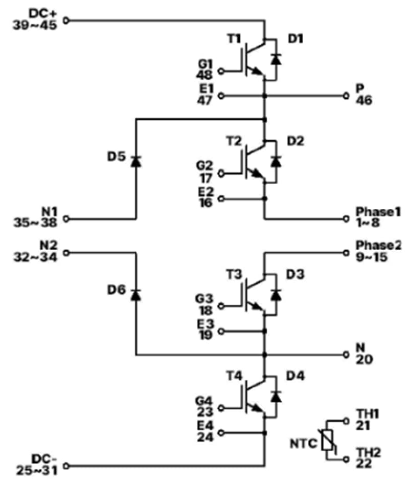
Onsemi NXH400N100L4Q2F2 IGBT-Module enthalten einen geklemmten Dreistufen-I-Typ-Neutralpunkt-Wechselrichter. Die onsemi NXH400N100L4Q2F2 Module nutzen integrierte Field-Stop-Trench-IGBTs und FRDs zur Reduzierung von Leitungs- und Schaltverlusten, um einen außergewöhnlichen Wirkungsgrad und eine außergewöhnliche Zuverlässigkeit zu gewährleisten. Die Module verfügen über ein neutrales Punkt-geklemmtes Dreistufen-Wechselrichter-Design und verwenden einen extrem effizienten Trench mit Field-Stop-Technologie für eine optimierte Leistung. Das Layout mit niedriger Induktivität und die Gehäusehöhe der Bauteile verbessern den Wirkungsgrad und die Zuverlässigkeit weiter und integrieren gleichzeitig einen Thermistor für die Temperaturüberwachung.Merkmale
- Geklemmtes Dreistufen-Wechselrichtermodul mit Neutralpunkt
- Extrem effizienter Trench mit Field-Stop-Technologie
- Niedriges induktives Layout
- Niedrige Gehäusehöhe
- Thermistor-
Applikationen
- Solar-Wechselrichter
- Energiespeichersysteme
- Unterbrechungsfreie Stromversorgungssysteme
Schaltplan
Veröffentlichungsdatum: 2024-05-13
| Aktualisiert: 2024-06-24
