onsemi NCV8461 Selbstgeschützter High-Side-Treiber

Der onsemi NCV8461 Selbstgeschützter High-Side-Treiber mit Temperaturabschaltung und Strombegrenzung wird zum Schalten von Lasten wie Solenoiden, Glühbirnen und Aktivierer verwendet. Dieser Treiber verfügt über einen CMOS (3 V/5 V) kompatiblen Steuereingang und eine thermische Abschaltung mit automatischem Neustart. Der NCV8461 High-Side-Treiber verfügt über eine Off-State-Open-Load-Erkennung, einenESD-Schutz, einen sehr niedrigen Standby-Strom, einen Open-Drain-Diagnoseausgang und eine Unterspannungsabschaltfunktion. Dieser Treiber ist bleifrei und AEC-Q100-qualifiziert. Der NCV8461 High-Side-Treiber wird als Ersatz für elektromechanische Relais und diskrete Schaltungen verwendet. Dieser Treiber ist ideal für Industrie- und Fahrzeugapplikationen.

Merkmale

  • CMOS (3 V/5 V) kompatibler Steuereingang
  • Thermische Abschaltung mit automatischem Neustart
  • Erkennung von offener Last im Aus-Zustand
  • ESD-Schutz
  • Sehr niedriger Standby-Strom
  • Open-Drain-Diagnoseausgang
  • Verlust der Erdung und Verlust des VD-Schutzes
  • Verpolungsschutz der Batterie (mit externem Widerstand)
  • Unterspannungsabschaltung
  • Betriebsspannungsbereich: 5 V bis 34 V
  • -40 °C bis 150 °C Betriebstemperaturbereich
  • Kurzschluss-Sicherung
  • AEC-Q100-qualifiziert

Applikationen

  • Schalten Sie ohmsche, induktive und kapazitive Lasten
  • Ersetzen Sie elektromechanische Relais und diskrete Schaltungen
  • Automobil-Applikationen
  • Industrieanforderungen

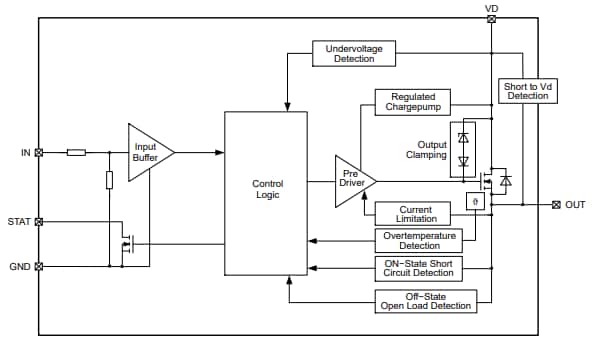
Blockdiagramm

Blockdiagramm - onsemi NCV8461 Selbstgeschützter High-Side-Treiber
Veröffentlichungsdatum: 2024-12-09 | Aktualisiert: 2024-12-24