onsemi NCP705 500 mA LDO-Regler
Onsemi NCP705 500 mA-LDO-Regler eignen sich hervorragend für geräuschempfindliche HF-Applikationen, wie z. B. Leistungsverstärker in Satellitenfunkgeräten, Infotainment-Ausrüstungen und Präzisionsmessgeräte, die sehr saubere Stromversorgung erfordern. Der NCP705 ist ein 500 mA LDO, der dem Ingenieur eine stabile, genaue Spannung mit extrem geringem Rauschen und einem hohen Versorgungsspannungs-Unterdrückungsverhältnis (PSRR) bietet, der sich für HF-Applikationen eignet. Das Bauteil benötigt keinen zusätzlichen Rausch-Bypass-Kondensator, um eine extrem rauscharme Leistung zu erzielen. Zur Optimierung der LeistungLeistung von batteriebetriebenen tragbaren Applikationen verwendet der NCP705 von Onsemi ein dynamisches IQ-Management für einen extrem niedrigen Ruhestromverbrauch bei leichten Lastbedingungen und eine ausgezeichnete dynamische Leistungsfähigkeit.Merkmale
- Betriebseingangsspannungsbereich: 2,5 V bis 5,5 V
- Erhältlich mit einer festen Spannungsoption von 0,8 V bis 3,5 V
- Erhältlich mit einer einstellbaren Spannungsoption von 0,8 V bis 5,5 V VDROP
- Referenzspannung: 0,8 V
- Extrem niedriger Ruhestrom von 13 A (typisch)
- Extrem niedriges 12 VRMS-Rauschen von 100 Hz bis 100 kHz
- Sehr niedriger typischer 230 mV-Dropout bei 500 mA
- ±2 % Genauigkeit in Bezug auf Last, Leitung und Temperatur
- Hohe 71 dB PSRR bei 1 kHz
- Interner Soft-Start zur Begrenzung des Einschaltstroms
- Thermische Abschaltung und Strombegrenzungsschutz
- Stabil mit einem 1 µF Keramik-Ausgangskondensator
- Aktive Ausgangsentladung für schnelles Ausschalten
- Bleifreie Bauteile
Applikationen
- PDAs, Handys, GPS und Smartphones
- Drahtlose Handgeräte, Wireless LAN, BLUETOOTH®, ZigBee®
- Tragbare medizinische Ausrüstung
- Weitere batteriebetriebene Applikationen
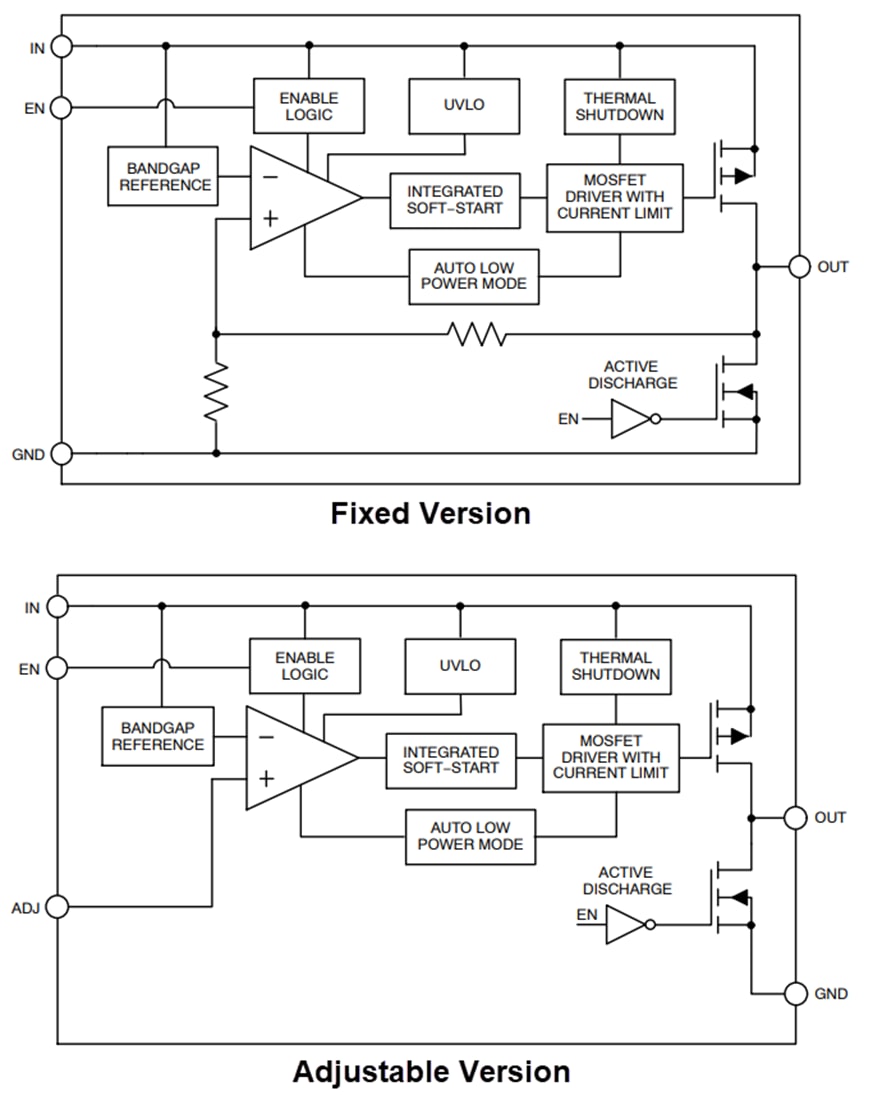
Vereinfachtes Schaltplan-Blockdiagramm
Veröffentlichungsdatum: 2025-04-21
| Aktualisiert: 2025-05-27
