onsemi NCP110 Linear-Spannungsregler

onsemi NCP110 Linear-Spannungsregler sind in der Lage, aus einer 1,1V-Eingangsspannung einen Ausgangsstrom von 200 mA zu liefern. Diese Spannungsregler bieten einen großen Ausgangsbereich von 0,6 V bis zu 4,0 V mit sehr geringem Rauschen und hohem PSRR (Power Supply Rejection Ratio). Die NCP110 Regler sind für den Betrieb mit einem 1µF-Eingangs- und einem 1µF-Ausgangs-Keramikkondensator ausgelegt. Diese Linear-Spannungsregler eignen sich aufgrund ihres niedrigen Ruhestroms für batteriebetriebene Geräte wie Smartphones und Tablets. Zu den typischen Applikationen gehören batteriebetriebene Geräte, Smartphones, Digitalkameras, Rauchmelder, tragbare medizinische Ausrüstung, Takt-Netzteile und batteriebetriebene drahtlose IoT-Module.

Merkmale

  • Betriebseingangsspannungsbereich von 1,1 V bis 5,5 V
  • Feste Spannungsoption von 0,6 V bis 4,0 V
  • ±2 % Genauigkeit in Bezug auf Last/Temperatur
  • Stabil mit 1μF-Keramikkondensatoren in kleinen Gehäusen
  • Erhältlich in:
    • WLCSP4 0,65mm x 0,65mm x 0,33 mm Gehäuse 567VS
    • XDFN4 1 mm x 1 mm x 0,4 mm Gehäuse 711AJ
  • Diese Bauteile sind bleifrei, halogen-/BFR-frei und RoHS-konform

Technische Daten

  • Extrem niedriger Ruhestrom von 20 µA (typisch)
  • Standby-Strom 0,1 A (typisch)
  • Sehr geringer Dropout von 70 mV für 1,05 V bei 100 mA
  • Hohes PSRR von 95 dB (typisch) bei 20 mA und einer Frequenz von 1 kHz (typisch)
  • Extrem geringes Rauschen 8,8 µVRMS

Applikationen

  • Batteriebetriebene Geräte
  • Smartphones und Tablets
  • Digitalkameras
  • Rauchmelder
  • Tragbare medizinische Ausrüstung
  • HF, PLL, VCO und Takt-Netzteile
  • Batteriebetriebene drahtlose IoT-Module

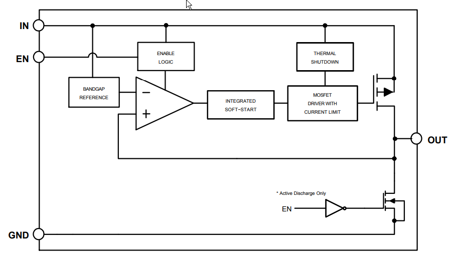
NCP110 Regler Blockdiagramm

Blockdiagramm - onsemi NCP110 Linear-Spannungsregler

Diagramm typischer NCP110 Applikationen

Applikations-Schaltungsdiagramm - onsemi NCP110 Linear-Spannungsregler
Veröffentlichungsdatum: 2018-07-10 | Aktualisiert: 2022-10-31