onsemi FAN6248 Synchrone Gleichrichter-Controller
Die FAN6248 synchronen Gleichrichter-Controller (SR) von onsemi sind für LLC-Resonanzwandler optimiert. Diese Controller bieten zwei Treiber-Stufen zur Ansteuerung von SR-MOSFETs, die die Ausgänge der sekundären Transformatorwicklungen gleichrichten. Die FAN6248 Controller sind in den Versionen FAN6248HAMX und FAN6248HBMX erhältlich. Die FAN6248HAMX Controller bieten eine hohe Ausschaltschwellwert-Spannung und die FAN6248HBMX Controller bieten eine geringe Ausschaltschwellwert-Spannung. Weitere Funktionen umfassen Leichtlast-Erfassung, Standby-Stromverbrauch und SR-Strominversions-Erfassung.Die Applikationen umfassen Laptop-Adapter mit hoher Leistungsdichte, LCD-Fernseher, PDP-Fernseher, RP-Fernseh-Stromversorgung und Hochleistungs-LED-Beleuchtung.Merkmale
- Highly integrated self-contained control of synchronous rectifier with minimum external components
- Anti-shoot-through control for reliable SR operation
- Separate 100V rated sense inputs for sensing the drain and source voltage of each SR MOSFET
- Adaptive parasitic inductance compensation to minimize the body diode conduction
- Adaptive minimum on time for noise immunity
- High driver output voltage of 10.5V to drive all MOSFET brands to the lowest RDS_ON
Technische Daten
- Up to 30V operating voltage range
- 25KHz to 700KHz operating frequency
Applikationen
- High power density laptop adapter
- High power density adapter
- Large screen LCD-TV, PDP-TV, and RP-TV power
- High-efficiency desktop and server power supplies
- Networking and telecom power supplies
- High power LED lighting
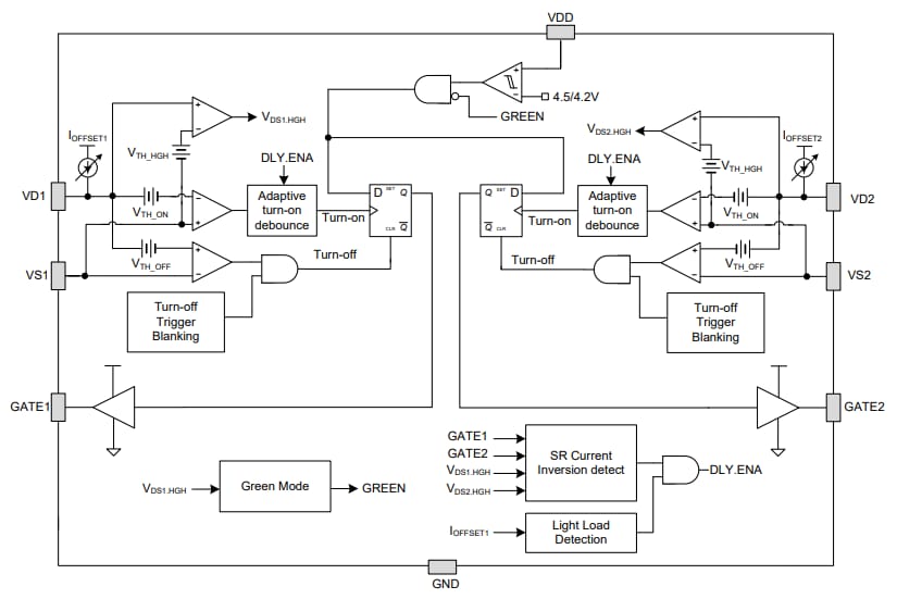
Block Diagram
Veröffentlichungsdatum: 2017-06-19
| Aktualisiert: 2022-03-11
