onsemi NCP161 LDO-Regler mit hohem PSRR
ON-Semiconductors NCP161 LDO-Regler mit hohem PSRR sind Linearregler, die in der Lage sind, 450 mA Ausgangsströme zu liefern. Die NCP161 sind zur Erfüllung der Anforderungen von HF- und Analog-Schaltungen ausgelegt. Die Bauteile bieten ein geringes Rauschen, hoher PSRR, niedrigen Ruhestrom und sehr gute Last-/Leitungs-Transienten. Das Bauteil ist für den Einsatz mit einem 1µF-Eingangs- und einem 1µF-Ausgangs-Keramikkondensator ausgelegt. Die NCP161 sind in zwei Dicken als sehr kleines 0.35P-Chip-Scale-Gehäuse (CSP) (0,65 x 0,65 mm) und als 0.65P-XDFN-4-Gehäuse (1 x 1 mm) erhältlich.Merkmale
- Betriebseingangsspannungsbereich: 1,9 V bis 5,5 V
- Erhältlich in festen Spannungsoptionen: 1,8 V bis 5,14 V
- ±2 % Genauigkeit in Bezug auf Last und Temperatur
- Sehr niedriger Ruhestrom von 18 µA (typisch)
- Standby-Strom: 0,1 μA (typisch)
- Sehr niedriger Dropout: 150 mV bei 450 mA
- Sehr hohes PSRR: 98 dB bei 20 mA und f=1 kHz (typisch)
- Besonders rauscharm: 10 μVRMS
- Stabil mit 1μF-Keramik-Kondensatoren in kleinen Gehäusen
- Erhältlich in WLCSP4-Gehäuse 0,65x0,65x0,4 mm 567KA, WLCSP4-Gehäuse 0,65x0,65x0,33 mm 567JZ, XDFN4-Gehäuse 1x1x0,4 mm
- Diese Bauelemente sind bleifrei, halogen-/BFR-frei und RoHS-konform
Applikationen
- Batteriebetriebene Geräte
- Drahtlose LAN-Geräte
- Smartphones, Tablets
- Kameras, DVRs, STB und Camcorder
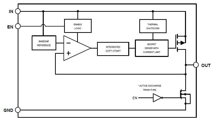
Blockdiagramme
Veröffentlichungsdatum: 2017-01-11
| Aktualisiert: 2026-03-20
