onsemi NCV7446 Dual-CAN-FD-Transceiver
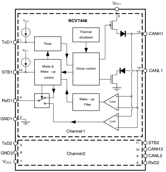
Der Dual-CAN-FD-Transceiver (CAN/Control Area Netwerk, FD/Flexible Data) NCV7446 von onsemi ist ein Zweikanal-Physical-Layer-Transceiver. Dieser Transceiver ermöglicht den Anschluss von zwei unabhängigen physischen CAN-Bussen und zwei unabhängigen CAN-Protokoll-Controllern. Der Transceiver NCV7446 bietet eine Differential-Sendefunktion zum Bus und eine Differential-Empfangsfunktion zu den CAN-Controllern. Dieser Transceiver besteht aus zwei völlig unabhängigen Transceivern der Baureihe NCV7344. Der Transceiver NCV7446 garantiert zusätzliche Timing-Parameter, um eine stabile Kommunikation bei Datenraten, die über 1 MBit/s hinausgehen, zu gewährleisten. Der NCV7446 von onsemi eignet sich für alle Arten von HS-CAN-Netzwerkknoten, die einen stromsparenden Modus mit Aktivierungsfunktion über den CAN-Bus benötigen.Merkmale
- Bietet Hochgeschwindigkeit und geringe Leistung
- Dual-CAN-FD-Physical-Layer-Transceiver
- Bietet:
- Differential-Sendefunktion zum Bus
- Differential-Empfangsfunktion zu den CAN-Controllern
- CAN-FD-Timing von bis zu 5 MBit/s
- Sehr stromsparender Standby-Modus mit Aktivierung über Bus
- Niedrige elektromagnetische Emission (EME) und hohe elektromagnetische Störfestigkeit
- Keine Störung der Bus-Leitungen durch einen stromlosen Knoten
- Durch Datenübertragung (TXD) dominierte Timeout-Funktion
- Der Chip verhält sich vorhersehbar unter allen Versorgungsbedingungen
- Sehr hohe ESD-Robustheit der Bus-Pins
- Thermischer Schutz
- Bus-Pins verfügen über eine Kurzschlussfestigkeit zur Versorgungsspannung und Masse
- Bus-Pins sind gegen Transienten in Fahrzeugumgebungen geschützt
- Konform mit ISO 11898-2:2016
- AEC-Q100-qualifiziert und Produktionsteil-Abnehmeverfahren (PPAP) fähig
Applikationen
- Automobil-Applikationen
- Industrielle Netzwerke
Weitere Ressourcen
Blockdiagramm
Anwendungsschaltschema
Veröffentlichungsdatum: 2020-06-08
| Aktualisiert: 2025-02-26
