NXP Semiconductors TJA1022 Dual LIN-Transceiver
Die Dual-LIN-Transceiver TJA1022 von NXP Semiconductors stellen die Schnittstelle zwischen einem Local Interconnect Network (LIN)-Master/Slave-Protokollcontroller und dem physischen Bus in einem LIN-Netzwerk bereit. Die Transceiver der Baureihe TJA1022 sind in erster Linie für fahrzeuginterne Subnetzwerke mit Baudraten von bis zu 20 kBd vorgesehen und sind kompatibel mit LIN 2.0, LIN 2,1, LIN 2,2, LIN 2,2 A, ISO 17987-4:2016 (12 V LIN) und SAE J2602. Die Baureihen TJA1022T und TJA1022TK (SO14-/HVSON14-Gehäuse) sind pinkompatibel mit TJA1020, TJA1021, TJA1027 und TJA1029. Der TJA1022HG (DHVQFN24-Gehäuse) ist pinkompatibel mit dem TJA1024. Die Baureihen TJA1022, TJA1024, TJA1027 und TJA1029 sind softwarekompatibel.Der TJA1022 von NXP konvertiert übertragene Daten vom Protokollcontroller in optimierte LIN-Bussignale, die zur Reduzierung von elektromagnetischen Emissionen (EME) entwickelt wurden. Die LIN-Ausgangspins werden intern mit Abschlusswiderständen auf HIGH gezogen. Bei Master-Node-Konfigurationen sollten ein externer Widerstand und eine Diode zwischen dem VBAT-Pin und jedem LIN-Pin angeschlossen werden. Eingehende Daten auf dem LIN-Bus werden von den Empfängern erkannt und über die Pins RXD1 und RXD2 an den Mikrocontroller weitergeleitet. Der Stromverbrauch ist sehr gering, wenn sich die Transceiver im Ruhemodus befinden. Der TJA1022 kann jedoch weiterhin über die Pins LIN1/LIN2 und SLP1_N/SLP2_N geweckt werden.
Merkmale
- 2 x LIN-Transceiver in einem einzigen Gehäuse
- LIN 2.0, LIN 2,1, LIN 2,2, LIN 2,2 A, ISO 17987-4:2016 (12 V LIN) und SAE J2602 kompatibel
- Baudrate von bis zu 20 kBd
- Sehr niedrige elektromagnetische Emissionen (EME)
- Sehr geringe Stromaufnahme im Sleep-Modus mit Remote-LIN-Wake-up
- Eingangspegel kompatibel mit 3,3-V- und 5-V-Bauteilen
- Integrierte Abschlusswiderstände für LIN-Slave-Applikationen
- Passives Verhalten im stromlosen Zustand
- Funktionsfähig während des Anlassimpulses – Vollbetrieb ab 5 V
- Erkennung von Unterschreitung der Versorgungsspannung
- K-Line-kompatibel
- Die 14-Pin-Ausführungen sind Pin-kompatibel mit den Baureihen TJA1020, TJA1021, TJA1027 und TJA1029
- 24-Pin-Ausführung, Pin-kompatibler Untersatz des TJA1024
- Software-kompatibel mit dem TJA1024, TJA1027 und TJA1029
- Schutz
- Sehr hohe elektromagnetische Immunität (EMI)
- Sehr hohe ESD-Robustheit – ±8 kV gemäß IEC 61000-4-2 für die Pins LIN1, LIN2 und VBAT
- Bus-Anschluss- und Batterie Pin geschützt gegen Transienten in Fahrzeugumgebungen (ISO 7637)
- Bus-Anschluss kurzschlussfest zur Batterie und zur Masse
- Thermisch geschützt
- Anfängliche TXD-dominante Prüfung beim Umschalten in den Normalmodus
- TXD-dominante Timeout-Funktion
- Gehäuseoptionen
- SO14-Kunststoffgehäuse, Gehäusebreite 3,9 mm
- Bleifreies HVSON14-Kunststoffgehäuse (3,0 mm x 4,5 mm x 0,85 mm) mit verbesserter AOI-Fähigkeit (Automated Optical Inspection)
- Bleifreies dual-inline DHVQFN24-Kunststoffgehäuse (3,5 mm x 5,5 mm x 0,85 mm) mit verbesserter AOI-Fähigkeit
- Halogenfrei und RoHS-konform
Applikationen
- Karosserieelektronik
- Fensterheber
- Türmodule
- Sitzsteuerungen
- Dachfenster-Systeme
- Steuerung der Innenbeleuchtung
- Klimakontrollsysteme
- HVAC-Module (Heizung, Lüftung und Klimaanlage)
- Lüfter- und Klappensteuereinheiten
- Infotainment und Komfort
- Lenkradsteuerungen
- Spiegeleinstellungssysteme
- Innenraumbeleuchtung
- Sensor- und Aktorschnittstellen
- Regen-/ Lichtsensoren
- Temperatursensoren
- Motorantriebe
Technische Daten
- Batterieversorgungsspannungsbereiche
- Grenzwerte: -0,3 V bis +42 V
- Im Betrieb: 5 V bis 18 V
- Batterieversorgungsstrombereiche
- 2,5 µA bis 10 µA im Ruhe- und Standby-Modus
- 300 µA bis 3200 µA im Normalmodus
- ±42 V Spannung am LIN-Pin
- 20 kΩ bis 60 kΩ Slave-Widerstandsbereich
- 20 pF maximale Kapazität am LIN-Pin
- Übergangs-zu-Umgebungs-Wärmewiderstand
- 145 K/W beim SO14-Gehäuse
- 50 K/W beim HVSON14-Gehäuse
- 42,7 K/W beim DHVQFN24-Gehäuse
- -40 °C bis +150 °C virtuelle Sperrschichttemperatur
- +150 °C bis +200 °C Sperrschichttemperaturbereich bei Abschaltung
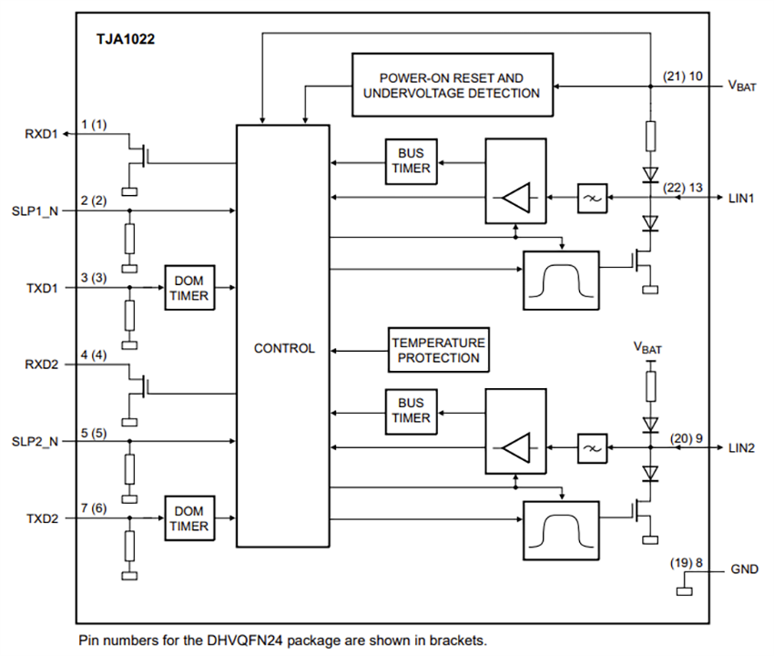
Blockdiagramm
Applikations-Schaltungs-Diagramm
