NXP Semiconductors PTN3460I DisplayPort-zu-LVDS-Brücke
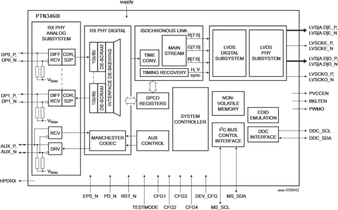
NXP PTN3460I DisplayPort-zu-LVDS-Brücke ermöglicht Konnektivität zwischen einer (integrierten) DisplayPort (eDP)-Quelle und einem LVDS-Display-Panel. Sie verarbeitet den eingehenden DisplayPort (DP)-Stream, führt die DP-zu-LVDS-Protokollumwandlung durch und überträgt den verarbeiteten Stream im LVDS-Format. Die NXP PTN3460I hat zwei High-Speed-Ports: einen Eingangsport für die DP-Quelle (zum Beispiel CPU/GPU/Chipsatz) und einen Übertragungsport für den LVDS-Empfänger (zum Beispiel LVDS-Display-Panel Controller). Die PTN3460I kann einen DP-Stream mit einer Übertragungsrate von 1,62 Gbit/s oder 2.7 Gbit/s empfangen und den DP-Betrieb über eine oder zwei Leitungen unterstützen. Sie kommuniziert mit der DP-Quelle über DP Auxiliary (AUX)-Kanaltransaktionen für DP-Übertragungstraining und -einrichtung. Sie unterstützt Single Bus oder Dual Bus LVDS-Signalgebung mit Farbtiefen von 18 Bits pro Pixel oder 24 Bit pro Pixel und eine Pixeltaktfrequenz bis 112 MHz. Die LVDS-Daten können im VESA- oder JEIDA-Format gepackt werden. Die DP-AUX-Schnittstelle transportiert auch I²C-over-AUX-Befehle und unterstützt die EDID-DDC-Kommunikation mit dem LVDS-Panel. Zur Unterstützung von Panels ohne EDID ROM kann die PTN3460I EDID-ROM-Verhalten emulieren, womit spezifische Änderungen im System-Video-BIOS vermieden werden.The NXP PTN3460I has two high-speed ports: Receive port facing DP Source (for example, CPU/GPU/chipset) and a Transmit port facing the LVDS receiver (for example, LVDS display panel controller). The PTN3460I can receive DP stream at link rate 1.62Gbit/s or 2.7Gbit/s, and it can support 1-lane or 2-lane DP operation. It interacts with DP source via DP Auxiliary (AUX) channel transactions for DP link training and setup. It supports single bus or dual bus LVDS signaling with color depths of 18-bits per pixel or 24-bits per pixel and pixel clock frequency up to 112MHz.
The LVDS data packing can be done either in VESA or JEIDA format. Also, the DP AUX interface transports I2C-over-AUX commands and supports EDID-DDC communication with the LVDS panel. To support panels without EDID ROM, the PTN3460I can emulate EDID ROM behavior avoiding specific changes in system video BIOS.
Merkmale
- Embedded microcontroller and on-chip Non-Volatile Memory (NVM) allow for flexibility in firmware updates
- LVDS panel power-up (/down) sequencing control
- Firmware controlled panel power-up (/down) sequence timing parameters
- No external timing reference needed
- EDID ROM emulation to support panels with no EDID ROM
- Emulation ON/OFF is set via configuration pin CFG4
- Supports EDID structure v1.3
- On-chip EDID emulation up to seven different EDID data structures
- eDP complying PWM signal generation or PWM signal pass-through from eDP source
Applikationen
- Industrial PC design
- Printer display
- Automotive dashboard display
- All in one platforms
- Notebook platforms
- Netbooks/net tops
Block Diagram
