NXP Semiconductors PCA85262 32x4 LCD-Treiber für die Automobilindustrie

Der NXP PCA85262 32x4 LCD-Segment-Treiber für die Automobilindustrie ist ein Peripheriegerät, das sich mit fast jedem LCD mit niedriger Multiplexrate über eine Schnittstelle verbinden lässt. Erzeugt Treibersignale für beliebige Multiplex-LCD mit bis zur vier Rückwandplatinen und 32 Segmenten. Kann für größere LCD-Anwendugne einfach erweitert werden. Der PCA85262 ist mit den meisten Mikrocontrollern kompatibel und kommuniziert über den bidirektionalen Two-Line- I2C-Bus. Kommunikations-Overheads werden mithilfe eines Display-RAM mit automatisch inkrementierter Adressierung, durch Hardware-Subadressierung und durch Display-Speicher-Umschaltung minimiert (statische und Duplex-Antriebsmodi).

Merkmale

  • AEC-Q100 grade 2 compliant for automotive applications
  • Single-chip LCD controller and driver
  • Selectable backplane drive configuration (static, 2, 3, or 4 backplane multiplexing)
  • Selectable display bias configuration (static, 1/2, or 1/3)
  • Internal LCD bias generation with voltage-follower buffers
  • 32 segment drives
    • Up to 16 7-segment numeric characters
    • Up to 8 14-segment alphanumeric characters
    • Any graphics of up to 128 elements
  • 32x4-bit RAM for display data storage
  • Display memory bank switching in static and duplex drive modes
  • Versatile blinking modes
  • Independent supplies possible for LCD and logic voltages
  • 1.8V to 5.5V wide power supply range
  • Wide logic LCD supply range
    • From 2.5V for low-threshold LCDs
    • Up to 8.0V for guest-host LCDs and high-threshold twisted nematic LCDs
  • Low power consumption
  • Extended temperature range up to 105°C
  • 400kHz I2C-bus interface
  • No external components required
  • Manufactured in silicon gate CMOS process

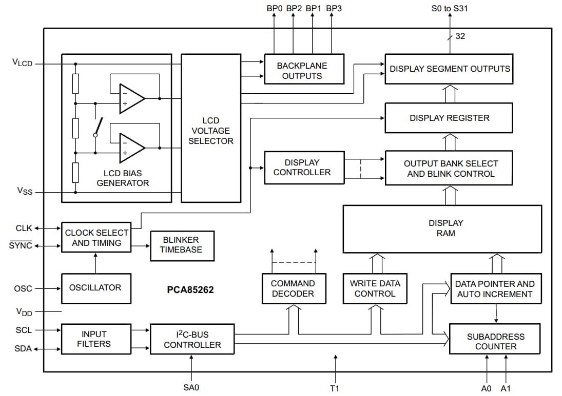
Block Diagram

Blockdiagramm - NXP Semiconductors PCA85262 32x4 LCD-Treiber für die Automobilindustrie
Veröffentlichungsdatum: 2015-04-28 | Aktualisiert: 2022-03-11