NXP Semiconductors MC33HB2000 Leistungs-ICs und Treiber
NXP Semiconductors MC33HB2000 Leistungs-ICs und Treiber sind monolithische SMARTMOS-H-Brücken-ICs, die mit SPI-Konfigurations- und Diagnosefunktionen erweitert sind. Diese Leistungs-ICs können induktive Lasten mit Spitzenströmen von mehr als 10 A steuern und der nominale durchschnittliche Laststrom beträgt 3 A. Die MC33HB2000 ICs von NXP sind zur Erfüllung der Sicherheitsanforderungen des ISO26262 ausgelegt, erfüllen die strengen Anforderungen von Fahrzeuganwendungen und sind AEC-Q100-qualifiziert. Diese Leistungs-ICs verfügen über eine hohe Genauigkeit in Echtzeit-Stromrückkopplung über ein Stromspiegel-Ausgangssignal mit einem Fehler von weniger als 5 %. Die MC33HB2000 ICs werden in einem Spannungsbereich von 5 V bis 28 V betrieben. Diese Leistungs-ICs eignen sich hervorragend für die elektronische Drosselklappensteuerung, Abgasrückführungssteuerung (AGR), elektrische Pumpen, Turbo- und Abfallklappensteuerung.Merkmale
- Erweiterte Diagnosemeldungen über eine serielle Peripherieschnittstelle:
- Ladepumpen-Unterspannungs, -Überspannung und Unterspannung auf VPWR
- Kurzschluss zu Masse und Kurzschluss zu VPWR für jeden Ausgang
- Offene Last, Temperaturwarnung und Übertemperaturabschaltung
- SOIC-, PQFN- und HVQFN-Gehäusegrößen
- Steuert induktive Lasten in einer vollständigen H-Brücken- oder Halbbrücken-Konfiguration an
- Überspannungsschutz versetzt die Last in den High-Side-Rückführungsmodus mit Meldung im H-Brücken-Modus
- Gemäß AEC-Q100 Klasse 1 qualifiziert
Applikationen
- Elektronische Drosselklappensteuerung
- Abgasrückführungssteuerung (AGR)
- Steuerung von Turboklappen, Wirbel- und Getriebekammer sowie Abgasklappen
- Elektrische Pumpen, Motorsteuerung und Hilfseinrichtungen
Technische Daten
- 5 V bis 28 V Betriebsspannungsbereich
- 2 V/μs Standard-Anstiegsrate
- Schwellenstrombegrenzung: 7 A
- Fehler: > 5 %
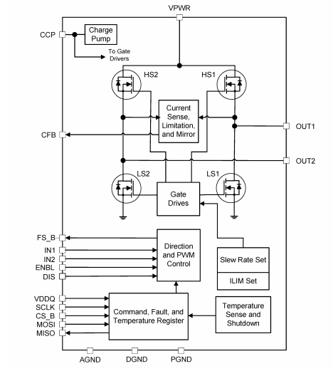
Blockdiagramm
Funktionales Blockdiagramm
Betriebsmodus-Zustandsdiagramm
Betriebsmodi
• Schlafmodus — MC33HB2000 Funktionen sind deaktiviert. Der Stromverbrauch überschreitet die Stromspezifikation im Ruhemodus nicht.
• Standby-Modus — MC33HB2000 Logikschaltung ist voll funktionsfähig mit den Ausgängen in einem hochohmigen Zustand.
• Normalmodus — MC33HB2000-Funktionen sind voll funktionsfähig. Alle erkannten Fehler übergehen das Bauteil in den Fehlermodus.
• Fehlermodus — Bestimmte Funktionen werden ausgeschaltet und das FS_B-Signal wird an die Logikschaltung [0] gesperrt, um einen Fehler anzuzeigen.
Veröffentlichungsdatum: 2020-06-09
| Aktualisiert: 2024-10-17
