NXP Semiconductors ASLx507 DC/DC-Aufwärtswandler
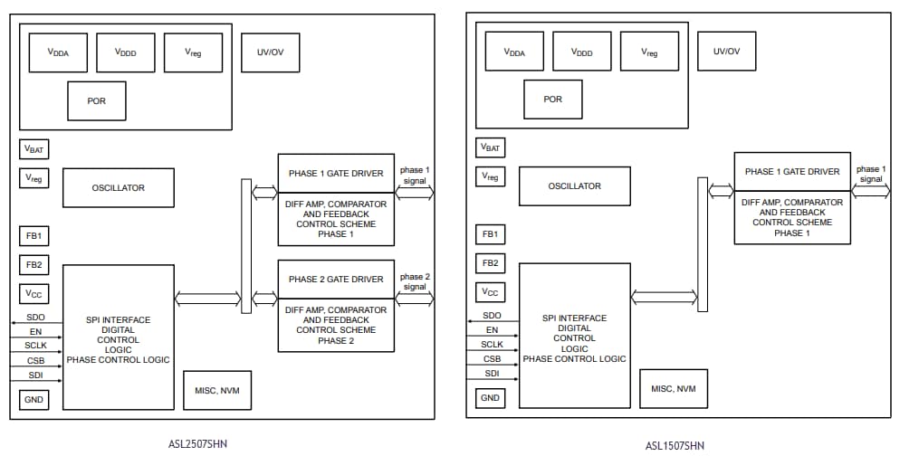
Die ASLx507 DC/DC-Abwärtswandler von NXP Semiconductors umfassen Einzel- und Dualphasen-ICs mit einer programmierbaren Notlaufprogrammfunktion. Diese Aufwärtswandler-ICs verfügen über einen oder zwei integrierten Gate-Treiber, die externe Leistungs-MOSFETs und integrierte Proportional-Integral (PI)-Controller ansteuern. Die ASLx507 Aufwärtswandler bieten eine SPI-Schnittstelle für die umfassende Steuerung und diagnostische Kommunikation mit einem externen Mikrocontroller. Diese Aufwärtswandler ermöglichen den konfigurierbaren Betrieb im Notlaufprogramm, wenn die SPI-Kommunikation mit dem Mikrocontroller ausfällt. Die Ausgänge der ASLx507 ICs arbeiten entsprechend vordefinierter Bedingungen, die vom Kunden im Notlaufprogramm programmiert und in einem nicht flüchtigen Speicher (NVM) gespeichert werden.Merkmale
- Qualifiziert gemäß AEC-Q100 Klasse 1
- Notlaufprogramm gewährleistet Systemsicherheit
- Eine Phase an jedem Ausgang oder zwei Phasen an einem Ausgang
- Zwei unabhängig gesteuerte Ausgangsspannungen mit 3 % Genauigkeit
- Festfrequenzbetrieb über integrierten Oszillator zwischen 125 kHz bis 700 kHz
- Programmierbare Frequenzspreizungsfunktion
- Gate-Schaltung wird angehalten, wenn auf einem Ausgang eine Überspannung erkannt wird
- Programmierbare Gate-Spannung
- Niedrige elektromagnetische Emission (EME) und hohe elektromagnetische Störfestigkeit (EMI)
- Neigungsausgleich zur Verfolgung der Frequenz und Ausgangsspannung
- Programmierbare Steuerungsschleifenkompensation
- Ausgangsspannungs-Überwachung
- Versorgungsspannungsmessung
- Sicherungsfreie programmierte Spannung und Frequenzbereich über SPI
- Anschlusskasten-Temperaturüberwachung über SPI
- HVQFN32-Gehäuseabmessung
Technische Daten
- Großer Betriebseingangsbereich von 5,5 V bis 40 V
- Große LED-Betriebsspannung von 2,5 V bis 80 V
- <5 µA Ruhestrom bei 25 °C
- Betriebsumgebungstemperaturbereich von -40 °C bis 125 °C
Applikationen
- Automotive-LED-Beleuchtung:
- Tagfahrlampen
- Positions- oder Parklicht
- Abblendlicht
- Fernlicht
- Richtungsanzeiger
- Nebelschlussleuchte
- Kurvenlicht
- Industriell/Verbraucher:
- Beleuchtung (innen)
- Bedienkasten
- Akkuladegeräte
- E-Bike
ASLx507 Blockdiagramm
View Results ( 4 ) Page
| Teilnummer | Datenblatt | Beschreibung | Anzahl der Kanäle | Eingangsspannung | Betriebsfrequenz | Versorgungsstrom - Max. | Verpackung/Gehäuse |
|---|---|---|---|---|---|---|---|
| ASL2507SHNY | ![]() |
Driver ICs LED-Beleuchtungstreiber Dual phase boost converter IC, Automotive grade, SPI, Limp Home mode | 2 Channel | 5.5 V to 40 V | 125 kHz to 700 kHz | 250 uA | HVQFN-32 |
| ASL1507SHNY | ![]() |
Driver ICs LED-Beleuchtungstreiber Single-phase boost converter IC , automotive grade, SPI, Limp Home mode | 1 Channel | 5.5 V to 40 V | 125 kHz to 700 kHz | 250 uA | HVQFN-32 |
| ASL2500SHNY | ![]() |
Driver ICs LED-Beleuchtungstreiber Two-Phase Automotive LED Boost Driver | 1 Channel | 5.5 V to 40 V | 20 mA | HVQFN-32 | |
| ASL1500SHNY | ![]() |
Driver ICs LED-Beleuchtungstreiber Single-Phase Automotive LED Boost Driver | 20 mA | HVQFN-32 |
Veröffentlichungsdatum: 2018-12-06
| Aktualisiert: 2022-10-12

