Nexperia NCA95xx I2C GPIO-Erweiterungen

Nexperia NCA95xx I2C-I/O-Universalexpander (GPIO) bieten eine elegante LÖSUNG, wenn zusätzliche I/Os erforderlich sind, während die Verbindungen auf einem Minimum gehalten werden müssen. Diese GPIO-Expander sind in TSSOP24- und HWQFN24-Gehäusen untergebracht und verfügen über mehrere Funktionen, wie z. B. Interrupts, Hardware-RESET, interne Pullup-Widerstände und konfigurierbare Pullups. Diese NCA95xx GPIO-Expander von Nexperia besitzen Vorteile wie z. B. extrem geringen statischen Stromverbrauch und reduzierte Komplexität des PCB-Designs durch Trace-Reduzierung und Routing-Vereinfachung, was Stückkosten reduziert.

Merkmale

  • Single-Supply-GPIO-Expander, der einen Betriebsspannungsbereich von 1,65 V bis 5,5 V unterstützt
  • Umwandlung seriell-parallel (SDA zu P0-P16) und von parallel-seriell (P0-P16) mitI2C-Protokoll
  • Schmitt-Trigger-Aktion ermöglicht langsame Eingangsübergänge und bessere Störfestigkeit gegen Schaltgeräusche an den SCL- und SDA-Eingängen
  • Geringe Leistungsaufnahme von maximal 2,5 µA
  • 400-kHz-Betrieb (Modus FMI2C)
  • Störungsfreies Einschalten mit allen Kanälen, die als Eingänge mit schwachen Pull-up-Widerständen konfiguriert sind
  • 5 V-tolerante E/As und 16 E/As-Pins, was standardmäßig 16 Eingängen entspricht
  • Latch-Ausgänge mit 25 mA maximaler Ansteuerungsfähigkeit für die direkte Ansteuerung von LEDs
  • Polaritätsumkehrungsregister
  • Externer Reset-Pin zum Zurücksetzen von Zustandsautomaten und internen Registern
  • Rauschfilter an SCL- und SDA-Eingängen
  • TSSOP24- und HWQFN24-Gehäuse
  • Spezifiziert von -40 °C bis +85 °C und von -40 °C bis +125 °C

Applikationen

  • Server und Router
  • TV- und Hardware-Kontrollmonitore
  • Spielkonsolen und Drohnen
  • Batteriebetriebene Applikationen
  • Automobilapplikationen (ADAS, VCU, DCU und BCM)
  • Überwachungskameras
  • Telekommunikationsausrüstung

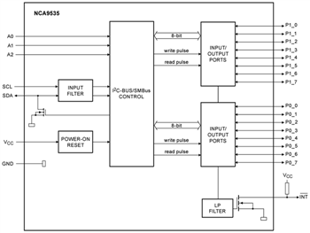
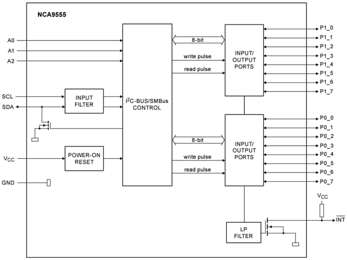
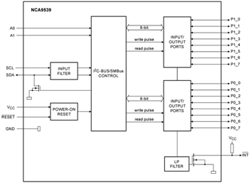
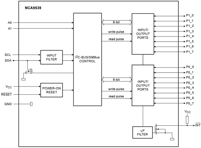
Blockdiagramme

View Results ( 8 ) Page
Teilnummer Datenblatt Verpackung/Gehäuse Maximale Taktfrequenz Anzahl der I/Os
NCA9535BY-Q100HP NCA9535BY-Q100HP Datenblatt HWQFN-24
NCA9539BYHP NCA9539BYHP Datenblatt HWQFN-24
NCA9555BY-Q100HP NCA9555BY-Q100HP Datenblatt HWQFN-24 100 kHz, 400 kHz 16 I/O
NCA9555BYHP NCA9555BYHP Datenblatt HWQFN-24 100 kHz, 400 kHz 16 I/O
NCA9535PWJ NCA9535PWJ Datenblatt TSSOP-24 400 kHz 16 I/O
NCA9539PW-Q100J NCA9539PW-Q100J Datenblatt TSSOP-24 400 kHz 16 I/O
NCA9539PWJ NCA9539PWJ Datenblatt TSSOP-24 400 kHz 16 I/O
NCA9535PW-Q100J NCA9535PW-Q100J Datenblatt TSSOP-24 400 kHz 16 I/O
Veröffentlichungsdatum: 2023-05-11 | Aktualisiert: 2025-04-17