Nexperia 74AVC9112 1-zu-4-Fanout-Puffer
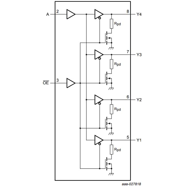
74AVC9112 1-zu-4-Fan-Out-Puffer von Nexperia eignen sich für die Taktverteilung und haben einen Dateneingang (A), vier Datenausgänge (Yn) und einen Ausgangsfreigabe-Eingang. VCC wird mit jeder Spannung von 0,8 V bis 3,6 V versorgt. Ein HIGH auf der Ausgangsfreigabe bewirkt, dass alle Ausgänge über Pull-Down-Widerstände auf LOW gezogen werden, ein LOW auf der Ausgangsfreigabe trennt die Pull-Down-Widerstände und aktiviert alle Ausgänge. Die Schmitt-Trigger-Aktion an allen Eingängen macht die Schaltung sehr tolerant gegenüber langsamerer Anstiegs- und Abfallzeit am Eingang. Der partielle Abschaltmodus deaktiviert den Ausgang zur Verhinderung von Schäden durch Stromrückfluss durch das Bauteil, wenn das Bauteil ausgeschaltet wird. 74VC9112 Puffer sind in 8-Pin-XSON8- und -VSSOP8-Gehäusen verfügbar.Merkmale
- Großer Spannungsversorgungsbereich:
- VCC: 0,8 V bis 3,6 V
- Erfüllt alle JEDEC-Standards:
- JESD8-12 (0,8 V bis 1,3 V)
- JESD8-11 (0,9 V bis 1,65 V)
- JESD8-7 (1,2 V bis 1,95 V)
- JESD8-5 (1,8 V bis 2,7 V)
- JESD8-B (2,7 V bis 3,6 V)
- ESD-Schutz:
- HBM ANSI/ESDA/JEDEC JS-001 Klasse 3B übertrifft 8 kV
- CDM JESD22-C101 übertrifft 1000 V
- Maximale Datenrate:
- 380 MBit/s (3,3 V)
- 200 MBit/s (2,5 V)
- 200 MBit/s (1,8 V)
- 150 MBit/s (1,5 V)
- 100 MBit/s (1,2 V)
- Latch-Up-Leistung übertrifft 100 mA gemäß JESD 78, Klasse II
- Die Eingänge akzeptieren Spannungen bis zu 3,6 V
- Spezifiziert von -40 °C bis +85 °C und von -40 °C bis +125 °C
Funktionales Diagramm
Veröffentlichungsdatum: 2018-09-05
| Aktualisiert: 2023-03-15
