Microchip Technology PIC16LF19195/6/7 64-polige Mikrocontroller
Die 64-poligen Mikrocontroller PIC16LF19195/6/7 von Microchip verfügen über einen eXtreme stromsparenden (XLP) LCD-Treiber zusammen mit kernunabhängigen Peripheriegeräten (CIPs) und intelligentem Analog. Die Funktionen umfassen eine integrierte Ladepumpe, Hochstrom-E/A-Antrieb für die Hintergrundbeleuchtung, Batterie-Backup des Echtzeittakts/Kalenders (RTCC), was den PIC16LF19195/6/7 ideal für batteriebetriebene LCD-Applikationen macht. Eine hochpräzise Taktquellen-Überspannung und -Temperatur bietet eine aktive Takt-Abstimmung des HFINTOSC. Der neue 12-Bit-ADC-Controller automatisiert die CVD-Techniken (kapazitiver Spannungsteiler) für die Mittelung, Filterung und Überabtastung. Die 64-poligen Mikrocontroller PIC16LF19195/6/7 unterstützen den Designer in einer Vielzahl von LCD- und Allzweckapplikationen.A highly accurate clock source over voltage and temperature provides active clock tuning of the HFINTOSC. The 12-bit ADC controller automates Capacitive Voltage Divider (CVD) techniques for averaging, filtering, and oversampling. The PIC16LF19195, PIC16LF19196, and PIC16LF19197 MCUs support the designer in a wide array of LCD and general-purpose applications.
The Microchip Technology PIC16LF19195, PIC16LF19196, and PIC16LF19197 MCUs are available in TQFP-64, QFN-64, and VQFN-64 packages.
Merkmale
- C compiler optimized RISC architecture
- Operating speed
- DC to 32MHz clock input
- 125ns minimum instruction cycle
- Interrupt capability
- 16-level deep hardware stack
- Timers
- Two 8-bit (TMR2/4) timer with hardware limit timer extension (HLT)
- 16-bit (TMR0/1)
- Low-current power-on reset (POR)
- Configurable power-up timer (PWRTE)
- Brown-out reset (BOR) with fast recovery
- Low-power BOR (LPBOR) option
- Programmable code protection
- Windowed Watchdog Timer (WWDT):
- Variable prescaler selection
- Variable window size selection
- All sources configurable in hardware or software
- Operating voltage range
- 1.8V to 3.6V (PIC16LF19195/6/7)
- 2.3V to 5.5V (PIC16F19195/6/7)
- Temperature range
- Industrial: -40°C to +85°C
- Extended: -40°C to +125°C
- Package options
- 10.0mm x 10.0mm x 1.0mm TQFP-64
- 9.0mm x 9.0mm x 0.9mm QFN-64
- 9.0mm x 9.0mm s 1.0mm VQFN-64
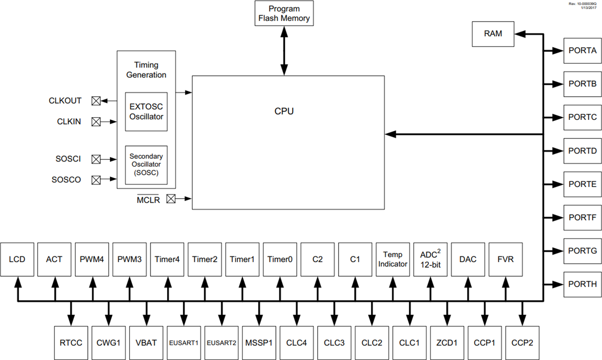
Block Diagram
Veröffentlichungsdatum: 2017-08-02
| Aktualisiert: 2022-03-24
