Microchip Technology PIC16LF1554/1559 8-Bit Mikrocontroller
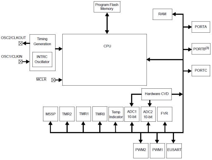
Die PIC16LF1554/1559 8-Bit Mikrocontroller von Microchip sind bei Mouser erhältlich und sind erweiterte Core-Mikrocontroller des mittleren Bereichs, die einzigartige On-Chip-Funktionen für die Konstruktion von mTouch™-Lösungen und Allzweck-Anwendungen in 12/20-Kontakt-Gehäusen bieten. Diese Mikrocontroller werden mit bis zu 17 analogen Kanälen geliefert, die sich an zwei 10-Bit ADCs mit automatisierten Hardware-CVD-Modulen anschließen lassen; zwei PWMs und verschiedene Kommunikationsperipheriegeräte bieten eine herausragende Lösung für die Umsetzung von kapazitiv abtastenden und anderen Front-End-Abtastanwendungen mit minimalem Software-Aufwand.Merkmale
- Dual Analog to 10-bit Digital Converter (ADC)
- 12 (PIC16LF1554) or 17 (PIC16LF1559) Channel 10-bit ADC
- Advanced Controls for mTouch CVD (Capacitive Voltage Divider)
- Voltage Reference
- MI2C, SPI, UART
- 2 PWMs (PIC16LF1554 only)
- 25mA Source/Sink current I/O
- 32MHz internal oscillator
- Low Power Brown Out Reset (LPBOR)
- Extended Watchdog Timer (WDT)
- In-Circuit Debug
- Operating Voltage 1.8V - 3.6V
Applikationen
- mTouch solutions
- General purpose HMI applications
Dokumente
Block Diagram
Veröffentlichungsdatum: 2014-10-02
| Aktualisiert: 2022-03-11
