Microchip Technology PIC16(L)F1847 Flash-MCUs

Microchip PIC16(L)F1847 Flash-MCUs verfügen über einen erweiterten 8-Bit-CPU-Core mittlerer Leistung mit 49 Befehlen, 16 Bedienstapel und einer schaltungsinternen Debug-Funktion. Diese MCUS verfügen über einen internen 32MHz-Präzisions-Oszillatorblock, ein Analog-Digital-Wandler-Modul, einen analogen Komparator und ein Spannungsreferenzmodul sowie einen programmierbaren Code-Schutz und ein Datensignal-Modulatormodul. Das Referenztaktmodul ermöglicht die Übermittlung eines geteilten Taktes zum Taktausgangspin (CLKR) und bietet eine sekundäre interne Taktquelle zum Modulatormodul. Das Oszillator-Modul verfügt über verschiedene Taktquellen und Auswahlfunktionen, die bei gleichzeitiger Steigerung der Leistungsfähigkeit und Reduzierung des Stromverbrauchs in verschiedenen Applikationen verwendet werden können. Die PIC16(L)F1847 Flash-MCUs verfügen über ein Capture-/Compare-/PWM-Peripheriemodul, das Nutzern Planung und Steuerung verschiedener Ereignisse und das Erzeugen von PWM-Signalen ermöglicht. Die Debug- und Programmier-Unterstützung ist über PICkit™3 und MPLAB® ICD 3 verfügbar.

Merkmale

  • Leistungsstarke RISC-CPU:
    • C-Compiler-optimierte RISC-Architektur
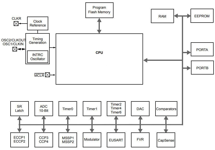
    • 256 Bytes EEPROM-Daten
    • Bis zu 14 kb lineare Programmspeicheradressierung
    • Linearer Datenspeicher, der bis zu 1.024 Bytes adressiert
    • Interrupt-Fähigkeit mit automatischer Kontextspeicherung
    • Direkte, indirekte und relative Adressmodi
  • Flexible Oszillatorstruktur:
    • Interner 32MHz-Präzisions-Oszillatorblock
    • Interner stromsparender 31kHz-Oszillator
    • Vier Quarzmodi mit bis zu 32 MHz
    • Zweistufiges Oszillator-Einschalten
    • Ausfallsicherer Taktwächter
  • Spezielle MCU-Merkmale:
    • 1,8V bis 5,5 V Betriebsspannung für PIC16F1847
    • 1,8 V bis 3,6 V Betriebsspannung für PIC16LF1847
    • Selbstprogrammierbar mit Softwaresteuerung
    • Power-on-Reset (POR), Power-up-Timer (PWRT) und Oszillator Start-up-Timer (OST)
    • Programmierbares Brown-out-Reset (BOR)
    • Erweiterte Laufzeitüberwachung (Extended Watchdog Timer (EWDT))
    • Programmierbarer Code-Schutz
    • In-Circuit-Serial-Programming™ (ICSP™) über zwei Pins
    • Schaltungsinterne Debug-Funktion (ICD) über zwei Pins
    • Erweiterte Programmierung mit niedriger Spannung
    • Stromsparender Schlafmodus
  • Extrem stromsparendes Energiemanagement PIC16LF1847 mit XLP:
    • Schlafmodus - 20 nA bei 1,8 V
    • Watchdog-Timer - 300 nA bei 1,8 V
    • Time1-Oszillator - 650 nA bei 32 kHz
    • Betriebsstrom: 65 µA/MHz bei 1,8 V
  • Analog-Digital-Wandlermodul (ADC)
  • Analog-Komparatormodul
  • Spannungsreferenzmodul
  • 15 I/O-Pins und 1 Nur-Eingangspin
  • Vier 8-Bit-Timer (TMR0/TMR2/TMR4/TMR6)
  • Ein 16-Bit-Timer (TMR1)
  • Ausgedehnte Laufzeitüberwachung (Extended Watchdog Timer (EWDT))

Pin-Diagramm PIC16(L)F1847 Flash-MCUs

Blockdiagramm PIC16(L)F1847 Flash-MCUs

Blockdiagramm - Microchip Technology PIC16(L)F1847 Flash-MCUs
Veröffentlichungsdatum: 2018-03-29 | Aktualisiert: 2022-10-03