Microchip Technology PIC16F17154/55/74/75 Mikrocontroller
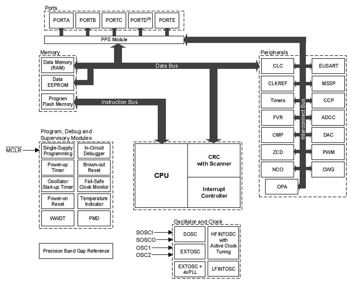
Die Mikrocontroller PIC16F17154/55/74/75 von Microchip Technology verfügen über eine analoge Peripherie für Präzisionssensor-Applikationen. Die Mikrocontroller PIC16F17154/55/74/75 von Microchip Technology sind in 8- bis 44-poligen Gehäusen mit Speichergrößen von 7 KB bis 28 KB und Geschwindigkeiten von bis zu 32 MHz erhältlich. Die MCUs umfassen einen rauscharmen Operationsverstärker, einen 12-Bit-Differential-ADC mit Rechenfunktion, zwei 8-Bit-DACs, eine 16-Bit-PWM und zusätzliche Wellenformsteuerungs- und Kommunikationsperipherien. Dieses kompakte, funktionsreiche Bauteil eignet sich hervorragend für kostengünstige, energieeffiziente analoge Sensorapplikationen, die eine hohe Auflösung erfordern.Merkmale
- C-Compiler-optimierte RISC-Architektur
- Betriebsgeschwindigkeit: DC bis 32 MHz Takteingang
- Mindest-Befehlszeit: 125 ns
- 16-level Deep-Hardware-Stack
- Power-On-Reset (POR) mit geringem Stromverbrauch
- Konfigurierbarer Einschalt-Timer (PWRT)
- Spannungsabfall-Wiedereinschaltung (Brown-Out Reset, BOR)
- Spannungsabfall-Wiedereinschaltung mit niedrigem Energieverbrauch (Low-Power Brown-Out Reset, LPBOR)
- Windowed Watchdog Timer (WWDT)
Applikationen
- Präzisionssensoren
- Kostengünstige Analogsensoren
- Energieeffiziente Analogsensoren
- Sensoren mit hoher Auflösung
Blockdiagramm
Veröffentlichungsdatum: 2024-10-14
| Aktualisiert: 2025-03-25
