Microchip Technology Microchip PIC12F157x 8-Bit Mikrocontroller
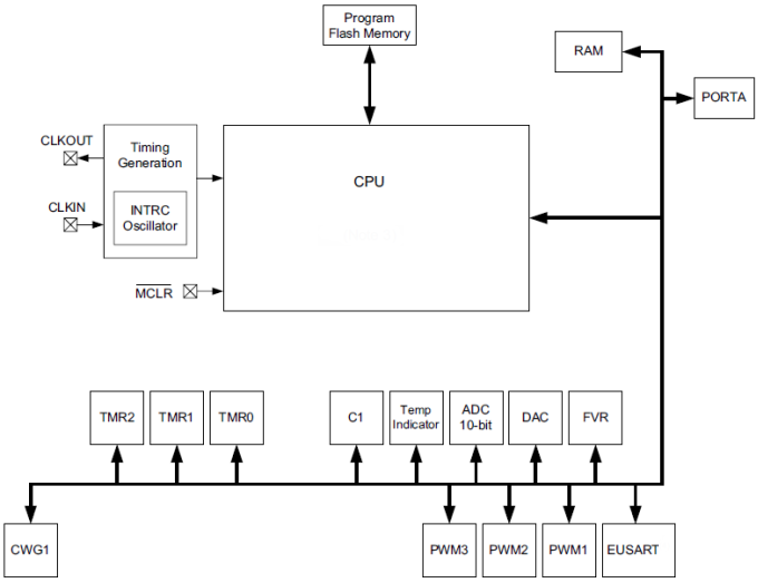
Der Mikrocontroller PIC12F157X 8-Bit von Microchip kombiniert die Eigenschaften von 16-Bit PWMs mit Intelligent Analog, um sich für eine Vielzahl von Anwendungen zu eignen. Diese Geräte liefern drei 16-Bit PWMs mit unabhängigen Timern, für Anwendungen, die hohe Auflösung erforderlich machen wie LED-Beleuchtung, Schrittmotoren, Stromversorgungen und andere Universalanwendungen. Die kernunabhängigen Peripherien (16-Bit PWMs, ergänzender Wellenform-Generator), der verbesserte synchrone-asynchrone Empfänger-Sender und Intelligent Analog (ADCs, Vergleichseinrichtung und DAC) ermöglichen eine geschlossene Rückkopplungsschleife und Kommunikation zum Einsatz in verschiedensten Marktsegmenten wie in LIN-Anwendungen.Merkmale
- Enhanced Mid-range Core with 49 Instruction, 16 Stack Levels
- Flash Program Memory with self-read/write capability
- High Endurance Flash memory in lower byte of last 128 addresses of Program Memory (100,000 Writes min.)
- Internal clock speeds from 31kHz to 32MHz
- 3x Standalone 16-bit PWM Modules
- Complementary Waveform Generator (CWG) Module
- 4 Channel 10-bit ADC with Voltage Reference
- 5-bit Digital to Analog Converter (DAC)
- Comparator
- 2x 8-bit Timers (TMR0/TMR2)
- 1x 16-bit Timer (TMR1)
- Three additional 16-bit Timers available using the 16-bit PWMs
- Extended Watchdog Timer (WDT)
- Enhanced Power-On/Off-Reset
- Low-Power Brown-Out Reset (LPBOR)
- Programmable Brown-out Reset (BOR)
- In-Circuit Serial Programming (ICSP)
- Enhanced Universal Synchronous Asynchronous Receiver Transceiver (EUSART) (PIC12F1572 only)
- PIC12LF1571 (1.8V - 3.6V)
- PIC12F1571 (2.3V - 5.5V)
Block Diagram
Veröffentlichungsdatum: 2014-03-05
| Aktualisiert: 2022-03-11
