Microchip Technology MCP1662 LED-Beleuchtungstreiber

Microchip Technology MCP1662 LED-Beleuchtungstreiber sind kompakte, platzsparende, nicht-synchrone Festfrequenz-Aufwärtswandler. Diese LED-Treiber sind für die Ansteuerung von LED-Ketten mit einem Konstantstrom von Zwei- oder Dreizellen-Alkali- oder Lithium-Energizer-, NiCd-/NiMH- oder Einzellen-Lithium-Ionen- oder Li-Polymer-Batterien optimiert. Die MCP1662 Beleuchtungstreiber kombinieren einen 36-V- und 800-mΩ-Low-Side-Schalter, der durch einen Zyklus-für-Zyklus-Induktivitäts-Strombegrenzungsbetrieb von 1,3 A geschützt ist. Die LED-Beleuchtungstreiber sind mit einer Unterspannungssperre (UVLO) ausgestattet, die ein Einschalten mit niedrigen Eingängen oder entladenen Batterien bei Zweizellen-betriebenen Applikationen verhindert. Diese MCP1662 Treiber bieten einen offenen Lastschutz. Zu den typischen Applikationen gehören Kamerablitzsysteme, medizinische Geräte, LED-Taschenlampen und Hintergrundbeleuchtungs-Stromquellen.

Merkmale

  • Integrierter Schalter mit 36 V und 800 MΩ
  • Wirkungsgrad von bis zu 92 %
  • Steuern LED-Ketten mit Konstantstrom an
  • Spitzen-Eingangsstrombegrenzung: 1,3 A
  • Eingangsspannungsbereich: 2,4 V bis 5,5 V
  • Rückkopplungs-Spannungsreferenzen: 300 mVFB
  • Unterspannungssperre (UVLO)
    • Anstieg von 2,3 VIN (typisch)
    • Abfall von 1,85 VIN (typisch)
  • Ruhemodus mit 20 nA Ruhestrom (typisch)
  • Schaltfrequenz-PWM-Betrieb: 500 kHz
  • Zyklus-für-Zyklus-Strombegrenzung
  • Interne Kompensation
  • Offener Lastschutz (OLP) bei:
    • Feedback-Pin kurzgeschlossen auf GND 
    • Getrennte LED-Kette
  • Übertemperaturschutz

Applikationen

  • Zwei- und Drei-Zellen-Alkali- oder NiMH-/NiCd-Treiber für weiße LED-Treiber für Hintergrundbeleuchtungsprodukte
  • LED-Beleuchtungsapplikation mit Li-Ionen-Batterie
  • Kamerablitz
  • LED-Taschenlampen und Hintergrundbeleuchtungs-Stromquelle
  • Medizinische Geräte
  • Tragbare Geräte:
    • Handheld-Spielkonsolen
    • GPS-Navigationssysteme
    • LCD-Monitore
    • Tragbare DVD-Player

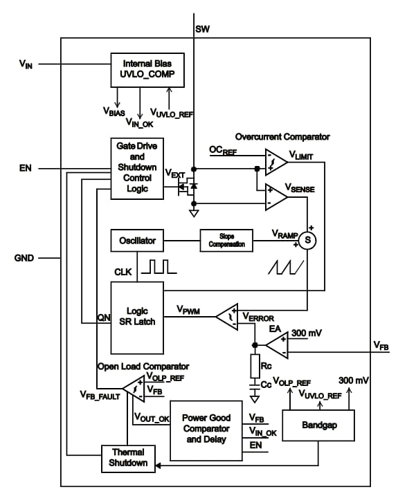
Blockdiagramm

Blockdiagramm - Microchip Technology MCP1662 LED-Beleuchtungstreiber

Typische Applikations-Schaltung

Applikations-Schaltungsdiagramm - Microchip Technology MCP1662 LED-Beleuchtungstreiber
Veröffentlichungsdatum: 2019-12-24 | Aktualisiert: 2023-06-12