Microchip Technology dsPIC33EP GS-Digital-Signalcontroller
Die GS-Digital-Signalcontroller (DSCs) dsPIC33EP von Microchip verfügen über einen 70MIPS-dsPIC-DSC-Core mit integrierten DSP und erweiterter On-Chip-Peripherie. Diese DSCs wurden entwickelt, um die Leistung zu liefern, die für die Implementierung von anspruchsvolleren nichtlinearen, prädiktiven und adaptiven Steueralgorithmen bei höheren Schaltfrequenzen erforderlich ist. Diese erweiterten Algorithmen ermöglichen Stromversorgungs-Designs, die energieeffizienter sind und über bessere Stromversorgungs-Spezifikationen verfügen. Höhere Schaltfrequenzen ermöglichen die Entwicklung physikalisch kleinerer Netzteile, die höhere Dichten bieten und geringere Kosten verursachen.Die GS-DSCs dsPIC33EP verfügen über erweiterte Funktionen wie Live-Update-Flash-Fähigkeit, die sehr hilfreich für Hochverfügbarkeits- oder „Ständig-Aktive“-Systeme ist. Das Live-Update kann verwendet werden, um die Firmware einer Betriebsstromversorgung, einschließlich des aktiven Kompensator-Berechnungscodes, zu ändern, während eine kontinuierliche Regelung beibehalten wird. Die GS-Baureihe dsPIC33EP verfügt über bis zu fünf 12-Bit-ADCs mit bis zu 22 ADC-Eingängen. Diese Bauteile verfügen auch über 12-Bit-DACs für jeden der vier analogen Komparatoren, für höhere Modelle mit höherer Präzision. Zwei programmierbare On-Chip-Verstärker können für Stromerfassung und andere Präzisionsmessungen verwendet werden. Diese fortschrittlichen analogen Verstärker reduzieren die Anzahl erforderlicher Komponenten auf dem Bauteil, wodurch Kosten und Boardplatz gespart werden.The Microchip Technology dsPIC33EP GS DSCs include advanced features such as Live Update Flash capability, which is especially helpful for high-availability or "always-on" systems. Live Update can be used to change the firmware of an operating power supply, including the active compensator calculation code while maintaining continuous regulation.
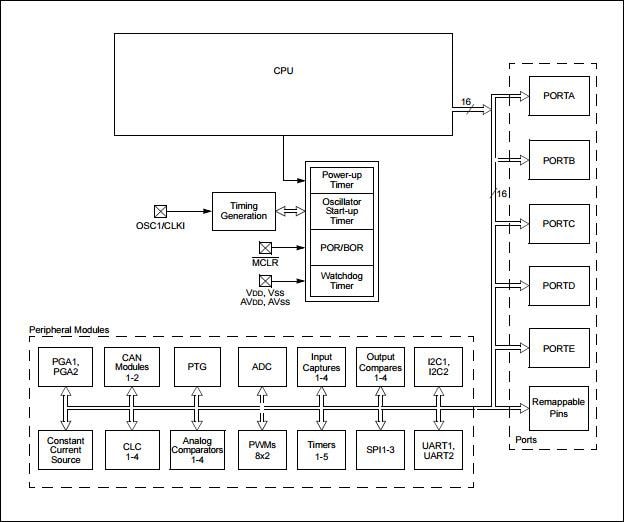
The dsPIC33EP GS series features up to five 12-bit ADCs with as many as 22 ADC inputs. These devices also include 12-bit DACs for each of the four analog comparators, for higher-precision designs. Two on-chip programmable gain amplifiers can be used for current sensing and other precision measurements. Including these advanced analog amplifiers on the device reduces the number of external components required, thereby saving costs and board space.
Merkmale
- 16-Bit dsPIC33E CPU Core
- Operating Conditions
- 3.0V to 3.6V, -40°C to +85°C, DC to 70 MIPS
- 3.0V to 3.6V, -40°C to +125°C, DC to 60 MIPS
- Clock Management
- ±0.9% Internal Oscillator
- Programmable PLLs and Oscillator Clock Sources
- Fail-Safe Clock Monitor (FSCM)
- Independent Watchdog Timer (WDT)
- Fast Wake-up and Start-up
- Power Management
- Low-Power Management modes (Sleep, Idle, Doze)
- Integrated Power-on Reset and Brown-out Reset
- 0.5mA/MHz Dynamic Current (typical)
- 20μA IPD Current (typical)
- High-Speed PWM
- Eight PWM Generators (two outputs per generator)
- Individual Time Base and Duty Cycle for each PWM
- Advanced Analog Features
- High-Speed ADC module
- 12-bit with 4 dedicated SAR ADC cores and one shared SAR ADC core
- Four Rail-to-Rail Comparators with Hysteresis
- Two Programmable Gain Amplifiers
- Interconnected SMPS Peripherals
- Five 16-bit and up to Two 32-bit Timers/Counters
- 2x UART modules
- 3x Variable Width SPI modules
- 2x I2C modules with SMBus Support
- Up to 2 CAN modules
- Up to 128Kb program memory
- Debugger Development Support
- AEC-Q100 REVG (Grade 1, -40°C to +125°C)
- Class B Safety Library, IEC 60730
- Multiple case options for design flexibility
- 28, 44, 48, 64, and 80 pin/lead
- SPOIC, QFN, QFN-S, UQFN, and TQFP packages
Block Diagram
