Microchip Technology dsPIC33CK1024MP710 Digital-Signalcontroller
Microchip Technology dsPIC33CK1024MP710 Digitale Signalcontroller (DSCs) mit hochauflösender PWM und flexibler CAN-Datenrate (CAN-FD) bieten eine deterministische Echtzeit-Leistung und ermöglichen leistungsstarke Steuerungsapplikationen. Die dsPIC33CK1024MP710 Controller verfügen über einen einzelnen dsPIC® DSC-Core mit integriertem DSP von 100 MHz und verbesserter On-Chip-Peripherie für fortschrittliche Abtastung/Steuerung, robuste Universal-Embedded-Motorsteuerung, digitale Leistung und Embedded-Applikationen mit hoher Leistungsfähigkeit. Diese DSCs ermöglichen das Design von leistungsstarken Präzisions-Motorsteuerungssystemen, die energieeffizienter und leiser im Betrieb sind und eine längere Motorlebensdauer bieten.Die dsPIC33CK1024MP710-Produktfamilie von Microchip Technology kann BLDC-, PMSM-, ACIM-, SR- und Schrittmotoren steuern. Die DSCs eignen sich hervorragend für Schaltnetzteile (AC/DC, DC/DC, USV und PFC) und bieten eine digitale Steuerung mit hoher Genauigkeit für Abwärts-, Aufwärts-, Fly-Back-, Halbbrücken-, Vollbrücken-, LLC- und andere Leistungsschaltungen, um die höchstmögliche Energieeffizienz zu erreichen. Diese Bauteile sind ideal für leistungsstarke Universal- und robuste Applikationen.
Merkmale
- AEC-Q100-qualifiziert
- Betriebsbedingungen
- 3 V bis 3,6 V, -40 °C bis +125 °C von DC bis 100 MIPs
- 3 V bis 3,6 V, -40 °C bis +150 °C von DC bis 70 MIPS
- dsPIC33CK CPU
- 256 Kbyte bis 1.024 Kbyte Programm-Flash mit ECC und 128 Kbyte Daten-RAM
- Schnelle 6-Zyklus-Teilung
- Flash mit Dual-Partition für LiveUpdate-Funktionen
- LiveUpdate
- Code-effiziente Architektur (C und Bestückung)
- 40-Bit-Akkumulatoren
- Einzelzyklus (MAC/MPY) mit Dual-Datenabruf
- Einzelzyklus, Mixed-Sign MUL plus Hardware-Teilung
- 32-Bit-Multiplikationsunterstützung
- 5 Sätze von ausgewählten Interrupt-Kontextregistern für eine schnelle Interrupt-Reaktion
- Kein Overhead-Looping
- Eingebauter RAM-Speicher-Selbsttest (MBIST)
- Uhrenverwaltung
- Schneller RC (FRC)
- Interner Oszillator
- Programmierbare PLLs und Oszillator-Taktquellen
- Referenztaktausgang
- Ausfallsicherer Taktwächter (FSCM)
- Schnelle Anlaufzeit und Inbetriebnahme
- Backup-FRC (BFRC) von 8 MHz mit Teiler (244 Dezimal) für einen Nennausgang von 32,768 kHz mit einem Taktverhältnis von 50 %.
- Leistungsmanagement
- Stromsparende Management-Modi (Schlaf, Leerlauf und Halbschlafmodus)
- Integrierter Power-on-Reset und Brown-Out-Reset
- Hochauflösende PWM mit feiner Kantenplatzierung
- Bis zu 12 PWM-Kanäle
- PWM-Auflösung: 250 ps
- Timer, Ausgangsvergleich und Eingangserfassung
- 1 16-Bit-Universal-Timer
- PTG-Modul (Peripheral Trigger Generator)
- 8 x SCCP-Module
- Timer-, Erfassungs-/Vergleichs- und PWM-Modi
- 16-Bit- oder 32-Bit-Zeitbasis
- 16-Bit- oder 32-Bit-Erfassung
- Vier-Deep-Capture-Buffer
- Vollständig asynchroner Betrieb, verfügbar in Schlafmodi
- 9 x MCCP-/SCCP-Module, die Timer, Capture/Compare und PWM umfassen
- 1 x MCCP
- 8 SCCPs
- 16-Bit- oder 32-Bit-Zeitbasis
- 16-Bit- oder 32-Bit-Erfassung
- Vier-Deep-Capture-Buffer
- Erweitertes Analog
- 5 x ADC-Module
- 12-Bit-ADC von 3,5 MS/s
- Bis zu 27 Umwandlungskanäle
- Umwandlungslatenz: 250 ns
- 6 x DAC-/analog-Komparatormodule
- 12-Bit-DACs mit Hardware-Neigungsausgleich
- 15-ns-Analogkomparatoren
- Geteilte DAC-/Analogkomparator-Ausgänge
- 3x Operationsverstärker-Module, 20 MHz GBW
- Anstiegsrate: 40 V/s
- Offset: ±1 mV
- 5 x ADC-Module
- Kommunikationsschnittstellen
- 3 x UART-Module mit Unterstützung für DMX- und LIN/J2602-Protokolle
- 3 x 4-Draht-SPI/I2S -Module
- 2 flexible CAN-Datenratenmodule (FD)
- 3 x I2C-Module mit Unterstützung für SMBus
- PPS, um Funktionsneuzuordnung zu ermöglichen
- 2 gesendete Module
- 8 DMA-Kanäle (Direct Memory Access, DMA)
- Peripherie
- 3 x Quadratur-Encoder-Schnittstellen (QEIs) mit 4 x Eingängen (Phase A, Phase B, Home und Index)
- 8 konfigurierbare Logikzellen (CLCs) mit internen Verbindungen zur Auswahl von Peripherie und PPS
- 2 Strom-Bias-Generatoren (CBGs)
- Debugger-Entwicklungsunterstützung
- Programmierung in der Schaltung und Applikation
- 3 komplexe und 5 einfache Breakpoints
- IEEE 1149.2-kompatibler (JTAG) Abgrenzungsscan
- Trace-Buffer und Laufzeituhr
- Sicherheit
- DMT (Deadman-Timer)
- ECC (Error Correcting Code) für Flash-Speicher
- WDT (Watchdog-Timer)
- CodeGuard™-Schutz
- CRC (Cyclic Redundancy Check)
- Flash-OTP durch ICSP™-Schreibsperre
- Eingebauter RAM-Speicher-Selbsttest (MBIST)
- 2-stufiger Anlauf
- Ausfallsichere Taktüberwachung (FSCM)
- Backup-FRC (BFRC)
- Kondensatorloser interner Spannungsregler
- Virtuelle Pins für Redundanz und Überwachung
- ISO 26262-konform und gemäß dem ISO 26262-Verfahren entwickelt
Applikationen
- Blindleistungskompensation (PFC)
- Verschachtelte PFC
- PFC mit kritischer Leitung
- Brückenlose PFC
- DC/DC-Wandler
- Abwärts, Aufwärts, Vorwärts, Flyback und Push-Pull
- Halb-/Vollbrücke
- Vollbrücke mit Phasenumkehrung
- Resonanzwandler
- DC/AC
- Halb-/Vollbrücken-Wechselrichter
- Resonanzwechselrichter
- Motorsteuerung
- BLDC
- PMSM
- SR
- ACIM
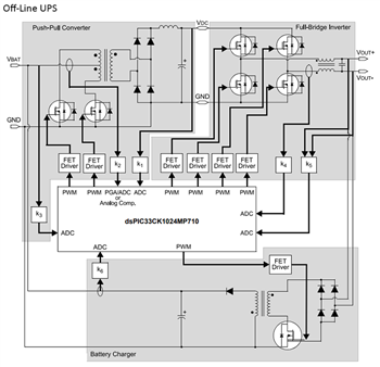
Blockdiagramm
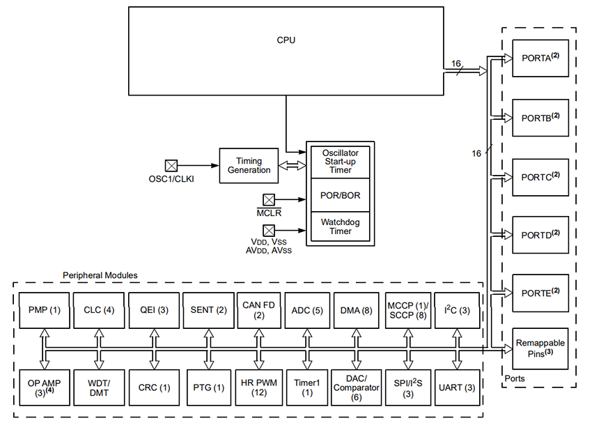
CPU – Blockdiagramm
Veröffentlichungsdatum: 2023-06-13
| Aktualisiert: 2023-10-09
