Microchip Technology dsPIC33CDVC256MP506 Integrierte Motortreiber
Microchip BLUETOOTH dsPIC33CDVC256MP506 Integrierte Motortreiber kombinieren einen digitalen Signalcontroller (DSC) mit einem Vollbrücken-MOSFET-Gate-Treiber, der für die 3-Phase BLDC-Motorsteuerung und einen CAN-Transceiver für die Automotive-Kommunikation ausgelegt ist. Der 100MHz dsPIC® DSC mit DSP, fortschrittlichen Motorsteuerungs-PWMs, 12-Bit-A/D-Wandler und integrierten Operationsverstärkern und Komparatoren ist für eine feldorientierte Steuerung (Field Oriented Control, FOC) ausgelegt, die maximale Energieeffizienz und niedrigste Systemkosten bietet. Der Vollbrücken-Gate-Treiber steuert sechs externe NMOS-FETs und enthält eine integrierte Ladungspumpe für den Niederspannungsbetrieb, eine programmierbare Totzeit und umfassende Schutzschaltungen. Der integrierte Motortreiber kann von einer einzelnen Stromversorgung bis zu 29 V (Betrieb) und 40 V (Transient) betrieben werden, wobei der dsPIC DSC von einem internen 3,3 V LDO-Spannungsregler versorgt wird. Zu den Fahrzeuganwendungen gehören Kühlgebläse, Gas-, Öl- und Wasserpumpen, Kompressoren, Ventile, Aktuatoren und Turbolader.Die industriellen und kommerziellen Anwendungen umfassen Elektrowerkzeuge und andere batteriebetriebene Geräte.Merkmale
- AEC-Q100 REV-H-konform
- DSC-Betrieb
- 3,0 V bis 3,6 V, -40 °C bis +125 °C, DC bis 100 MHz
- 3,0 V bis 3,6 V, -40 °C bis +150 °C, DC bis 70 MHz
- 6,5 V bis 29,0 V, -40 °C bis +150 °C MOSFET-Gate-Treiberbetrieb
- CPU
- Modifizierte Harvard-Architektur
- C-Compiler-optimierter Befehlssatz
- 16-Bit-Datenpfad/24-Bit-Befehlsbreite
- 16x16-Bit ganzzahlige Multiplikationsvorgänge
- Schnelle, 6-Cycle 32/16 und 16/16 ganzzahlige Teilungsvorgänge
- 2 x 40-Bit-Akkumulatoren mit Rundungs- und Sättigungsoptionen
- Einzelzyklus-Vervielfältigung und Akkumulation:
- Einzelzyklus-Verschiebungen für bis zu 40-bit-Daten
- Fraktionale oder ganzzahlige Multiplikation
- Motorsteuerungs-PWM-Modul (MCPWM)
- 4 x PWM-Paare mit unabhängigem Timing (8 x Ausgänge)
- 2,0 ns-PWM-Auflösung
- Flexible Trigger-Konfigurationen für ADC-Umwandlungen
- Unabhängige Totzeit für steigende und fallende Flanken
- Programmierbare Fehlereingänge
- Unterstützt Wechselrichter, PFC, Beleuchtung, BLDC, PMSM, ACIM und SRM
- Optische/inkrementelle 32-Bit-Encoder-Schnittstelle, Quadratur-Encoder-Schnittstellenmodul (QEI)
- 12-Bit-Auflösung Analog-Digital-Wandlermodul (ADC), 3.5Msps Umwandlungsrate, bis zu 15x Kanäle, 1x S & H-Schaltung
- Analoge Merkmale
- 3 x Operationsverstärker mit Ausgängen, die intern mit dem ADC-Modul verbunden sind
- Schneller Analog-Komparator (15 ns)
- 12-Bit-PDM-DAC mit Neigungsausgleich und gepuffertem Ausgang
- Peripheral Trigger Generator (PTG), Sequenzer, der komplexe trigger-Signalsequenzen erzeugen kann
- Bis zu 12 x Timer
- Dediziertes 16-Bit-timer-Modul (Timer 1)
- 4 x Capture/Compare/PWM/Timer-Module (SCCP) mit 2x 16-Bit- oder 1x 32-Bit-Timer
- PTG-Modul mit 2 x konfigurierbaren 16-Bit-Timern/Zählern
- QEI Modul als 32-Bit-timer/Zähler konfigurierbar
- Serielle Kommunikationsschnittstellen
- 3 x Protokoll-UART-Module mit Unterstützung für LIN 2,2
- 3 x SPI-Module (bis zu 50 Mbps) mit 16-byte-FIFO
- 3 x I2C-Host und -Client mit Adressiermaskierung und IPMI-Unterstützung
- 2x SENT-Modul unterstützt Automotive-Sensoren
- 4-Kanal DMA mit vom Benutzer wählbarer Prioritätssteuerung (User-Selectable Priority Arbitration)
- Peripherie-Pinauswahl (PPS) unterstützt Funktionsneuzuordnung
- Programmierbare zyklische 32-Bit-Redundanzprüfung (CRC)
- 64-Pin-VGQFN-Gehäuse
Applikationen
- Automobil-Applikationen
- Kühlgebläse
- Gas
- Öl- und Wasserpumpen
- Kompressoren
- Ventile
- Aktuatoren
- Turbolader
- Industrie und Gewerbe
- Elektrowerkzeuge
- Andere batteriebetriebene Geräte
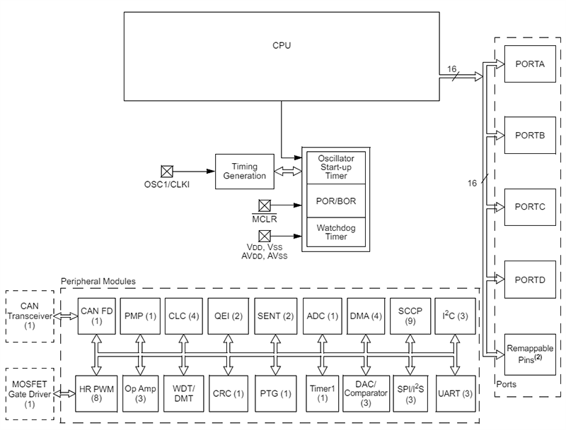
Interne Verbindungen – Blockdiagramm
Blockdiagramm
Applikationsinfos
- AN957 — Sensorisierte BLDC-Motorsteuerung mit dsPIC30F2010
- AN1160 — Sensorlose BLDC-Steuerung mit Back-EMF-Filterung mit Mehrheitsfunktion
- AN1299 — Einzel-Shunt-Dreiphasen-Stromrekonstruktion-Algorithmus für sensorlose FOC eines PMSM
- AN1292 — Sensorlose feldorientierte Steuerung (FOC) für einen Permanentmagnet-Synchronmotor (PMSM) mit einem PLL-Schätzer und Feldschwächung (FW)
- AN4064 – Sensor- (Hall-Effekt-Sensor-basierte) feldorientierte Steuerung des Dreiphasen-BLDC-Motors mit dsPIC33CK
View Results ( 9 ) Page
| Teilnummer | Datenblatt | Programmspeichergröße | RAM-Datengröße | Verpackung/Gehäuse |
|---|---|---|---|---|
| dsPIC33CDV128MP206-I/M9 | ![]() |
128 kB | 16 kB | VGQFN-64 |
| dsPIC33CDV256MP206-I/M9 | ![]() |
256 kB | 24 kB | VGQFN-64 |
| dsPIC33CDVC128MP506-E/M9 | ![]() |
128 kB | 16 kB | VQFN-64 |
| dsPIC33CDVC128MP506-I/M9 | ![]() |
128 kB | 16 kB | VQFN-64 |
| dsPIC33CDV256MP206T-I/M9 | ![]() |
256 kB | 24 kB | VGQFN-64 |
| dsPIC33CDV128MP206-E/M9 | ![]() |
128 kB | 16 kB | VGQFN-64 |
| dsPIC33CDV256MP206-E/M9 | ![]() |
256 kB | 24 kB | VGQFN-64 |
| dsPIC33CDVC128MP506T-E/M9 | ![]() |
128 kB | 16 kB | VQFN-64 |
| dsPIC33CDVC128MP506T-I/M9 | ![]() |
128 kB | 16 kB | VQFN-64 |
Veröffentlichungsdatum: 2024-05-06
| Aktualisiert: 2024-06-20

