Microchip Technology DSA12x1/2/3/4 Hochleistungs-MEMS-Oszillatoren
DSA12x1/2/3/4 Hochleistungs-MEMS-Oszillatoren von Microchip Technology sind fortschrittliche Timing-Lösungen, die speziell für Fahrzeuganwendungen entwickelt wurden, die hohe Zuverlässigkeit und Präzision erfordern. Diese Oszillatoren von Microchip nutzen die MEMS-Technologie (Micro-Electro-Mechanical Systems) für eine überragende Leistung in rauen Umgebungen und bieten eine ausgezeichnete Frequenzstabilität gegenüber Temperatur, Stößen und Vibrationen. Die DSA12x1 Baureihe bietet einen CMOS-Ausgang, während die DSA12x2/3/4 Baureihe Differentialausgänge wie LVPECL, LVDS und HCSL unterstützt, wodurch die Bauteile für Hochgeschwindigkeits-Datenübertragungssysteme geeignet sind. Mit AEC-Q100-Qualifizierung, geringem Phasenjitter und großen Betriebstemperaturbereichen eignen sich diese Oszillatoren ideal für den Einsatz in erweiterten Fahrerassistenzsystemen (ADAS), Infotainmentsystemen, Automotive-Netzwerken und anderer einsatzkritischer Fahrzeugelektronik. Kompakte Gehäuse und programmierbare Funktionen verbessern die Designflexibilität und Integration in moderne Fahrzeugplattformen zusätzlich.Merkmale
- Für den Automotive-Einsatz gemäß AEC-Q100 qualifiziert
- Frequenzbereiche
- 2,5 MHz bis 170 MHz für DSA12x1
- 2,5 MHz bis 450 MHz für DSA12x2/3/4
- Unterstützt Differentialausgänge LVPECL, LVDS oder HCSL (nur DSA12x2/3/4)
- Sehr geringer RMS-Phasenjitter (<650 fs="">650>
- Entspricht den PCIe Gen1/2/3/4/5/6 Common-Clock-Spezifikationen (nur DSA12x2/3/4)
- Hohe Stabilität (±20 ppm, ±25 ppm, ±50 ppm)
- Große Temperaturbereiche
- -40 °C bis +125 °C Automobilstandard 1
- -40 °C bis +105 °C Automobilstandard 2
- -40 °C bis +85 °C Automobilstandard 3
- Kleine Industriestandard-Footprints (CDFN/VDFN für DSA12x2/3/4, VDFN für DSA12x1)
- 6-polig 2,5 mm × 2,0 mm
- 6-polig 3,2 mm × 2,5 mm
- 6-polig 3,2 mm × 5,0 mm
- 6-polig 7,0 mm × 5,0 mm
- Hervorragende Stoß- und Vibrationsfestigkeit, qualifiziert nach MIL-STD-883
- Hochzuverlässig, 20x bessere mittlere störungsfreie Zeit (MTBF) als Quarz-Oszillatoren
- 2,25 V bis 3,63 V Versorgungsbereich
- Standby-, Frequenzauswahl- und Ausgangsfreigabefunktionen
- Bleifrei und RoHS-konform
Applikationen
- Automotive-Infotainment
- Automotive-ADAS
- Vernetzung im Fahrzeug, CAN-BUS und Ethernet
Datenblätter
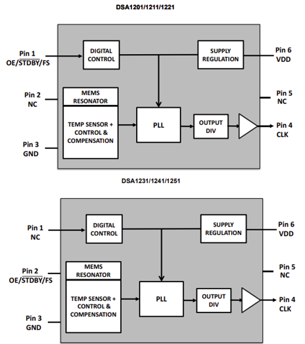
- DSA12x1 Hochleistungs-CMOS-MEMS-Oszillator für Fahrzeuganwendungen
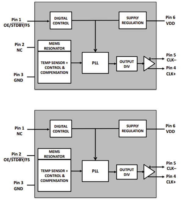
- DSA12x2/3/4 Hochleistungs-MEMS-Differential-Oszillatoren für Fahrzeuganwendungen
DSA12x1 Blockdiagramme
DSA12x2/3/4 Blockdiagramme
Veröffentlichungsdatum: 2025-08-05
| Aktualisiert: 2025-08-26
