Microchip Technology AT21CS11 serieller 1Kb-EEPROM

Das AT21CS11 serielle 1Kb-EEPROM von Microchip ist ein 2-Pin-Speicher (SI/O Signal und Erdung), der Energie aus dem Signal-Pin bezieht, um einen integrierten Schaltkreis für den Einsatz in Verbraucher- und Industrieapplikationen zu versorgen. Das AT21CS11 nutzt den Eindraht-Bus und benötigt nur zwei Pins (SI/O und GND) für den Zugriff auf das Bauteil. Das SI/O-Signal ist eine Kombination aus Daten- und Stromleitung und versorgt das Bauteil mit einem parasitären Energiesystem.

Microchip Technology AT21CS11 1Kb Serial EEPROM is available in 8-pin SOIC (150 mil), 3-pin SOT23, 2-pad XSFN, and 4-ball Thin CSP packages.

Merkmale

  • 128x8 (1Kbit)
  • Low power consumption:
    • Read current 0.08mA (Typical), 0.3mA (Max)
    • Write current 0.2mA (Typical), 0.5mA (Max)
    • Standby current 0.7uA (Typical), 2.5uA (Max)
  • Software write protection:
    • Four independent 256-bit zones
  • High speed (125kbps) mode
  • Available in 8-pin SOIC (150 mil), 3-pin SOT23, 2-pad XSFN, and 4-ball Thin CSP packages
  • Factory programming available
  • Self-timed erase and write cycles (5ms max.)
  • Single-wire compatible:
    • I2C protocol structure
    • Communication through a single I/O pin
  • More than 1 million erase/write cycles
  • Data retention > 100 years
  • ESD protection > 8000V (HBM)

Videos

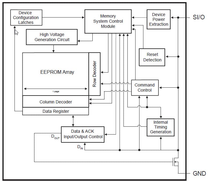
Block Diagram

Blockdiagramm - Microchip Technology AT21CS11 serieller 1Kb-EEPROM
Veröffentlichungsdatum: 2017-11-09 | Aktualisiert: 2022-04-05