Microchip Technology 24CSM01 Serielle 1-MBit-EEPROMs
Die 24CSM01 seriellen 1-Mbit-EEPROMs von Microchip Technology können Geschwindigkeiten von bis zu 3,4 MHz erreichen und arbeiten in einem Spannungsbereich von 1,7 V bis 5,5 V. Dank dieser seriellen EEPROMs können bis zu acht Bauteilen einen gemeinsamen I2C (Zweidraht)-BUS (Zweidraht) teilen. Die 24CSM01 EEPROMs sind als 131.072 Bytes zu je 8 Bit (128 KByte) organisiert und für Verbraucher- und Industrieapplikationen optimiert. Diese EEPROMs verfügen über ein 4-kBit-Sicherheitsregister und die erste Hälfte ist schreibgeschützt. Das Sicherheitsregister enthält in den ersten 16 Bytes eine werksseitig programmierte, garantierte einzigartige 128-bit-Seriennummer.Die 24CSM01 EEPROMs enthalten ein Konfigurationsregister, das ein Schreibschutzverhalten ermöglicht, und ein schreibgeschütztes Fehlerkorrektur-Zustands-Latch (ECS). Diese seriellen EEPROMs verwenden ein eingebautes Fehlerkorrekturcode-Schema (ECC), das bis zu einem falsch gelesenen Bit innerhalb eines Vier-Byte-Lesevorgangs korrigieren kann. Die EEPROMs der Baureihe 24CSM01 unterstützen den I2C-Befehl zur Herstellerkennung (ID), der einen eindeutigen Wert für die Komponente Bauteil 24CSM01 ausgibt und eine einfache Identifizierung innerhalb der Applikation ermöglicht. Diese seriellen Bauteile sind in den Gehäusen PDIP-8, SOIC-8, SOIJ-8, UDFN-8, TSSOP-8, MSOP-8 und WLCSP-8 erhältlich.
Merkmale
- 1-Mbit EEPROM
- Intern als ein 131.072 x 8-Bit organisiert
- Byte- oder Seitenschreibvorgänge von bis zu 256 Byte
- Byte- oder sequentielle Lesevorgänge
- Selbstauslösender Schreibzyklus (max. 5 ms)
- Hochgeschwindigkeits-I2C-Schnittstelle:
- Hochgeschwindigkeits-Modus-Unterstützung für 3,4 MHz
- Industriestandard: 1 MHz, 400 kHz und 100 kHz
- Ausgangssteigungssteuerung zur Beseitigung von Erdungsprellen
- Schmitt-Trigger-Eingänge für Rauschunterdrückung
- Sicherheitsregister:
- Vorprogrammierte 128-Bit-Seriennummer
- Benutzerprogrammierbare und sperrbare 256-Byte-ID-Seite
- Integrierte Fehlerbehebungscode-Logikschaltung (ECC):
- Fehlerkorrekturstatus-Verriegelung (ECS) über das Konfigurationsregister
- Unterstützung der I2C-Identifikationsfunktion
- Vielseitige Datenschutzoptionen:
- Hardware-Schreibschutz-Pin (WP) für vollständigen Array-Datenschutz
- Verbesserter Software-Schreibschutz über das Konfigurationsregister
- Betriebsspannungsbereich: 1,7 V bis 5,5 V
- Stromsparende CMOS-Technologie:
- Schreibstrom: 3 mA maximal bei 5,5 V
- Lesestrom: 1,0 mA maximal bei 5,5 V, 1MHz
- Standby-Strom: 1 µA bei 5,5 V (I-temp.)
- Hochzuverlässig:
- Mehr als 1 Million Lösch-/Schreib-Zyklen
- Integrierte ECC-Logikschaltung für eine erhöhte Zuverlässigkeit
- Datenhaltung: > 200 Jahre
- ESD-Schutz: > 4.000 V
- Temperaturbereiche:
- Industrie (I): -40 °C bis 85 °C
- Erweitert (E): -40 °C bis 125 °C)
- AEC-Q100qualifiziert für Fahrzeuganwendungen
- RoHS-konform
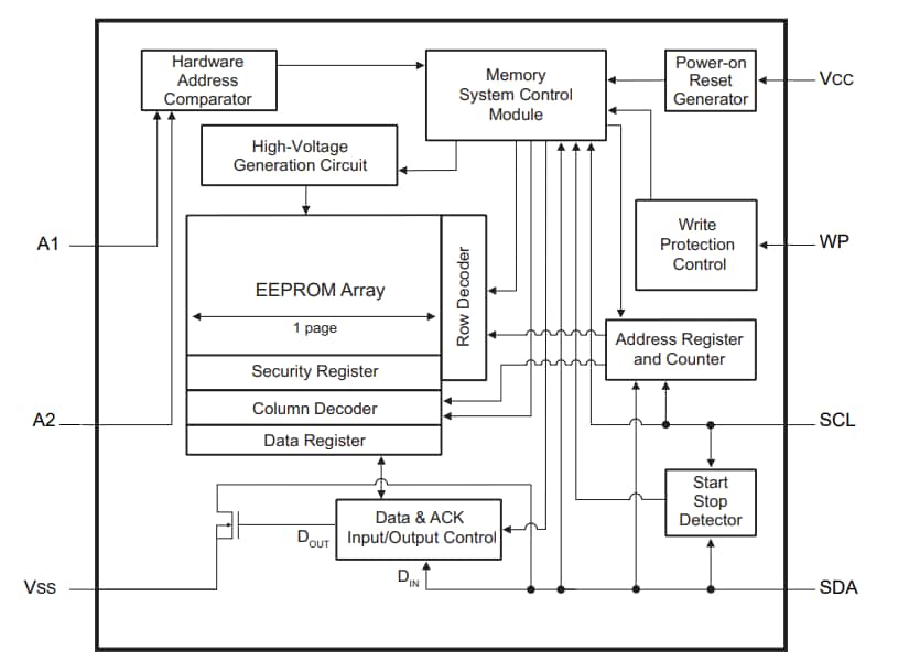
Systemkonfiguration mit seriellen EEPROMs
Blockdiagramm
Veröffentlichungsdatum: 2024-01-30
| Aktualisiert: 2024-02-01
