Micro Crystal RV-8063-C8 Real-Time Clock Modules
Micro Crystal RV-8063-C8 Real-Time Clock (RTC) Modules incorporate an integrated CMOS circuit with an XTAL. These SMD RTC modules also include an offset register and compensate frequency deviation of the 32.768kHz clock. The RV-8063-C8 RTC modules transfer all addresses and data serially via a Serial Peripheral Interface (SPI-bus) with a 7Mbit/s maximum data rate. These modules feature internal Power-On Reset (POR), oscillator stop detection function, and countdown timer interrupt function.The RV-8063-C8 RTC modules operate within -40°C to 85°C temperature range and 0.9V to 5.5V voltage range. These modules are AEC-200 qualified and RoHS compliant. The RV-8063-C8 RTC modules are available in a 2mm x 1.2mm x 0.70mm ultra-miniature ceramic SMD package with a metal lid. These modules are ideal for automotive, consumer, metering, outdoor, and healthcare applications.
Features
- 190nA @3V low power consumption
- ±20ppm @25°C time accuracy
- User-programmable offset value
- 0.9V to 5.5V operating voltage range
- -40°C to 85°C operating temperature range
- Provides year, month, date, weekday, hours, minutes, and seconds
- Timer and alarm functions
- Countdown timer interrupt function
- Minute and half minute interrupt
- Oscillator stop detection function
- Internal Power-On Reset (POR)
- 32.768kHz to 1Hz clock output frequencies
- 2mm x 1.2mm x 0.70mm ultra-miniature ceramic SMD package
- AEC-200 qualified
- RoHS compliant
Applications
- Communication:
- IoT
- Wearables
- Wireless sensors and tags
- Handsets
- Automotive:
- M2M
- Navigation and tracking systems
- Dashboard
- Tachometers
- Engine controller
- Car audio and entertainment systems
- Metering:
- E-Meters
- Heating counters
- Smart meters
- PV converters
- Outdoor:
- ATM and POS systems
- Surveillance and safety systems
- Ticketing systems
- Medical:
- Glucose meters
- Health monitoring systems
- Safety:
- Security and camera systems
- Door lock and access control
- Consumer:
- Gambling machines
- TV and set-top boxes
- White goods
- Automation:
- PLC
- Data loggers
- Home and factory automation
- Industrial and consumer electronics
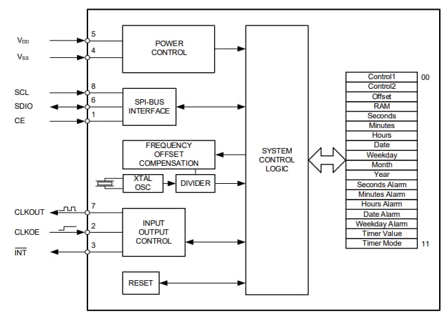
Block Diagram
Mechanical Diagram
Additional Resource
Veröffentlichungsdatum: 2024-04-10
| Aktualisiert: 2024-05-09
